龙虎榜丨粤万年青今日涨停,营业部席位合计净买入4956.75万元

查股网  2023-11-23 20:36  粤万年青(301111)个股分析

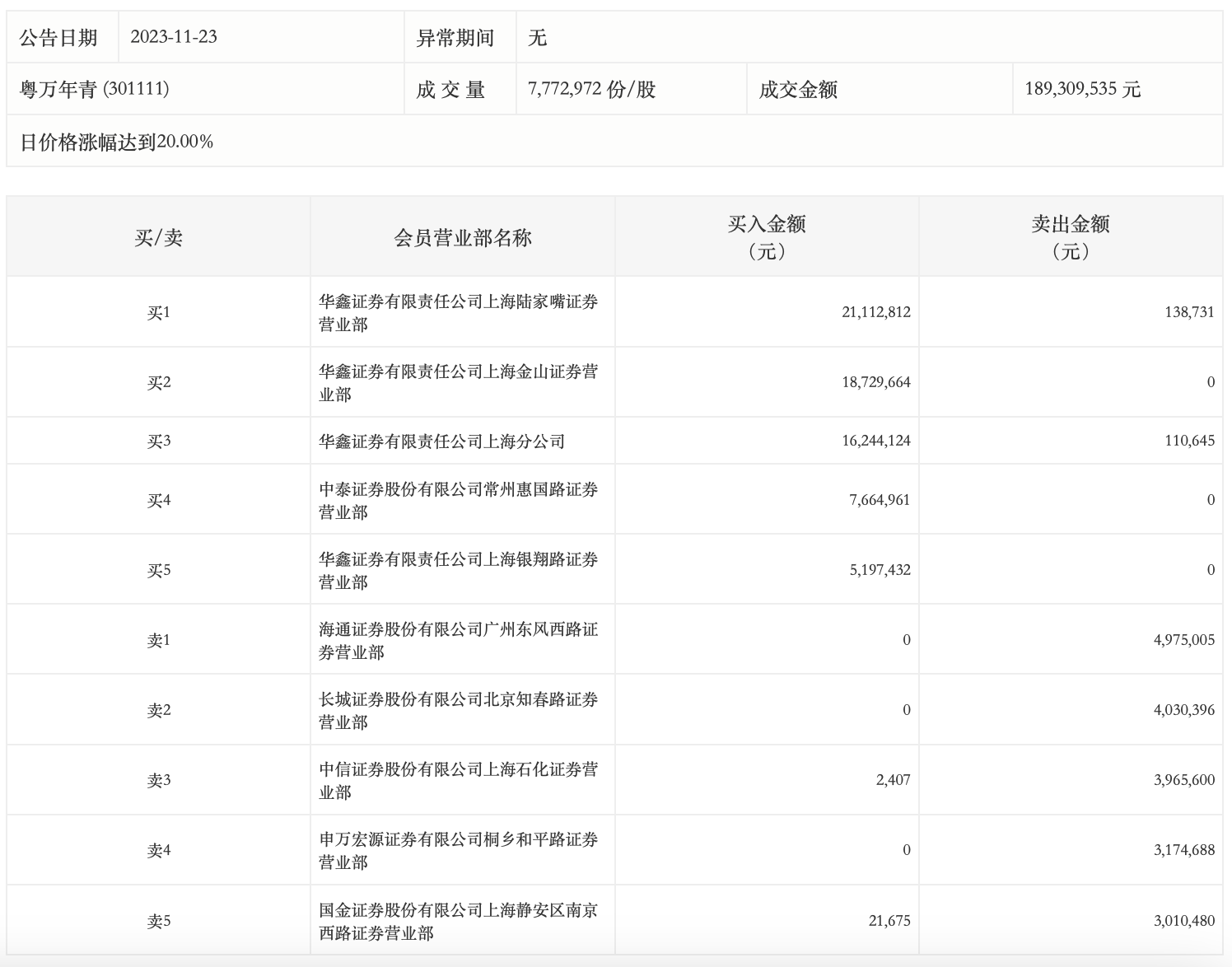
11月23日,粤万年青今日涨停,全天换手率达11.08%,振幅达18.96%。龙虎榜数据显示,营业部席位合计净买入4956.75万元。其中,华鑫证券上海陆家嘴证券营业部、华鑫证券上海金山证券营业部分别买入2111.28万元、1872.97万元;海通证券广州东风西路证券营业部、长城证券北京知春路证券营业部分别卖出497.50万元、403.04万元。