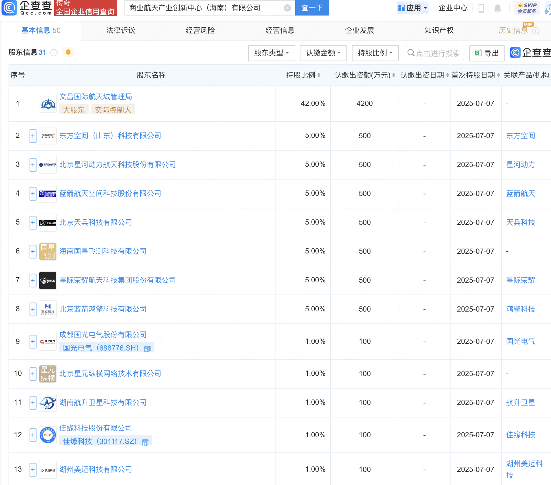
国光电气、佳缘科技等成立商业航天产业创新中心

查股网  2025-07-10 16:47  佳缘科技(301117)个股分析

(转自:企查查财经)

  企查查APP显示,近日,商业航天产业创新中心(海南)有限公司成立,注册资本1亿元,经营范围包含:微小卫星测运控服务;进出口代理;火箭发射设备研发和制造;火箭发动机研发与制造;微小卫星科研试验等。企查查股权穿透显示,该企业由国光电气(688776)、佳缘科技(301117)、思科瑞(688053)等共同出资。