龙虎榜丨满坤科技今日跌11.03%,知名游资现身龙虎榜,孙哥卖出1260.39万元

http://ddx.gubit.cn  2023-07-17 16:35  满坤科技(301132)公司分析

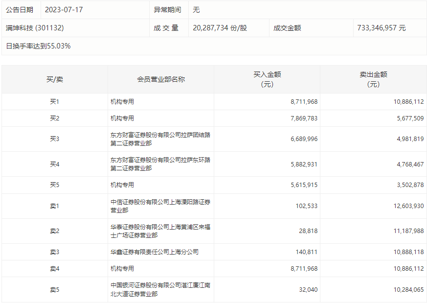
7月17日,满坤科技今日跌11.03%,龙虎榜数据显示,上榜营业部席位全天成交1.1亿元,占当日总成交金额比例为14.98%。其中,买入金额为3507.48万元,卖出金额为7478.09万元,合计净卖出3970.61万元。

具体来看,机构买入2219.77万元,卖出2006.65万元,合计净买入213.12万元。此外,知名游资现身龙虎榜,孙哥(中信证券上海溧阳路证券营业部)、华泰证券上海黄浦区来福士广场证券营业部分别卖出1260.39万元、1118.80万元;东方财富证券拉萨团结路第二证券营业部、东方财富证券拉萨东环路第二证券营业部分别买入669.00万元、588.29万元。