龙虎榜丨君逸数码今日涨11.05%,机构合计净买入937.89万元

http://ddx.gubit.cn  2023-10-23 21:17  君逸数码(301172)公司分析

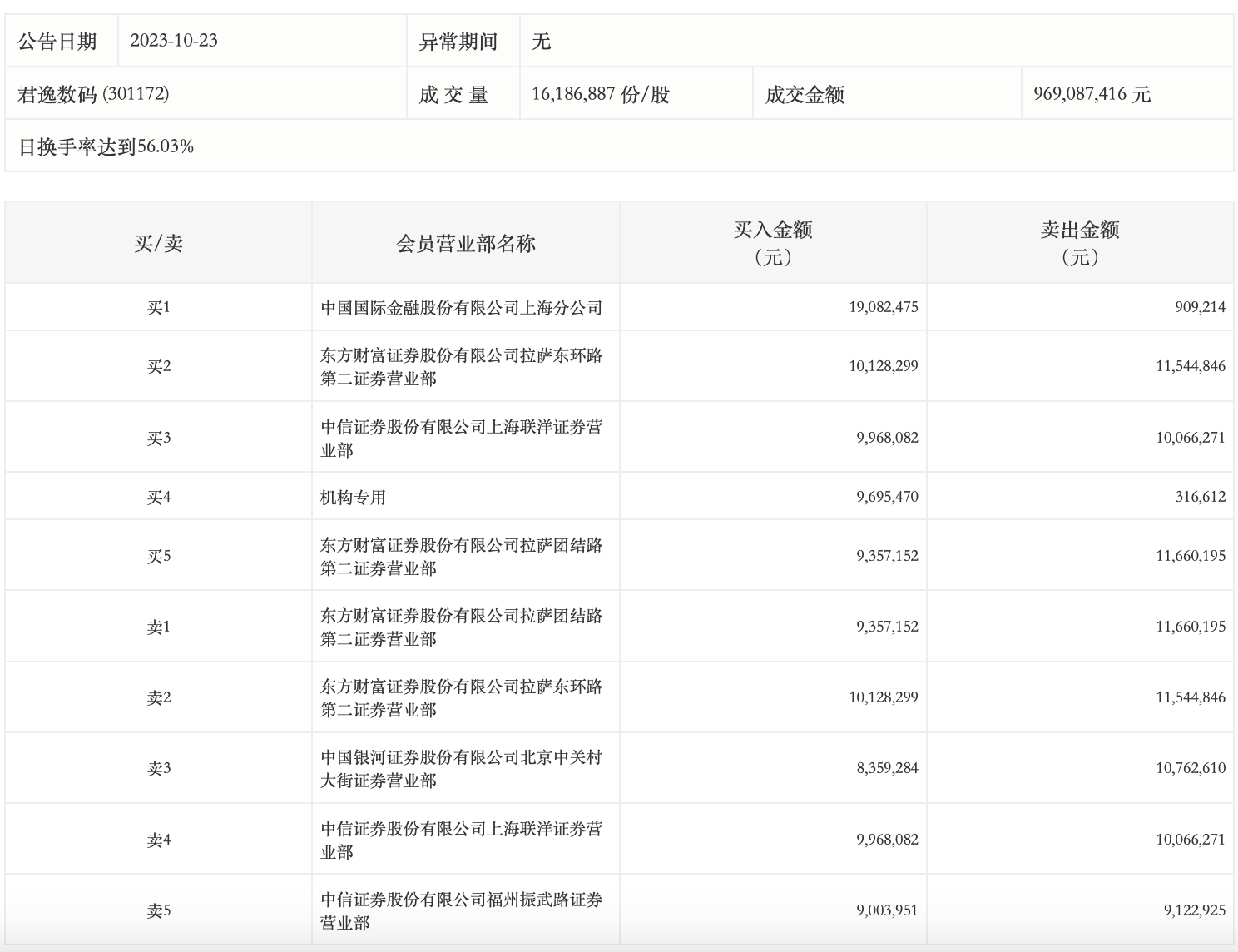
10月23日,君逸数码今日涨11.05%,全天换手率达58.51%,振幅达13.93%。龙虎榜数据显示,营业部席位合计净买入2121.2万元。其中,机构买入969.55万元,卖出31.66万元,合计净买入937.89万元。此外,中国国际金融上海分公司、东方财富证券拉萨东环路第二证券营业部分别买入1908.25万元、1012.83万元;东方财富证券拉萨团结路第二证券营业部、东方财富证券拉萨东环路第二证券营业部分别卖出1166.02万元、1154.48万元。