龙虎榜丨凯旺科技今日涨停,机构合计净买入1555.67万元

查股网  2024-07-01 21:12  凯旺科技(301182)个股分析

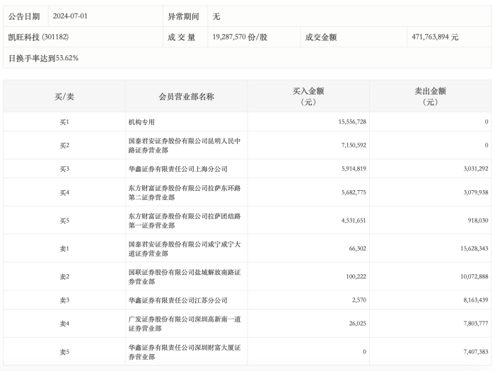
7月1日,凯旺科技今日涨停,龙虎榜数据显示,上榜营业部席位全天成交9513.68万元,占当日总成交金额比例为20.17%。其中,买入金额为3903.17万元,卖出金额为5610.51万元,合计净卖出1707.34万元。

具体来看,机构合计净买入1555.67万元。此外,国泰君安证券昆明人民中路证券营业部、华鑫证券上海分公司分别买入715.06万元、591.48万元;国泰君安证券咸宁咸宁大道证券营业部、国联证券盐城解放南路证券营业部分别卖出1562.83万元、1007.29万元。