龙虎榜丨东田微今日涨停,机构合计净买入1449.88万元

http://ddx.gubit.cn  2023-04-24 21:46  东田微(301183)公司分析

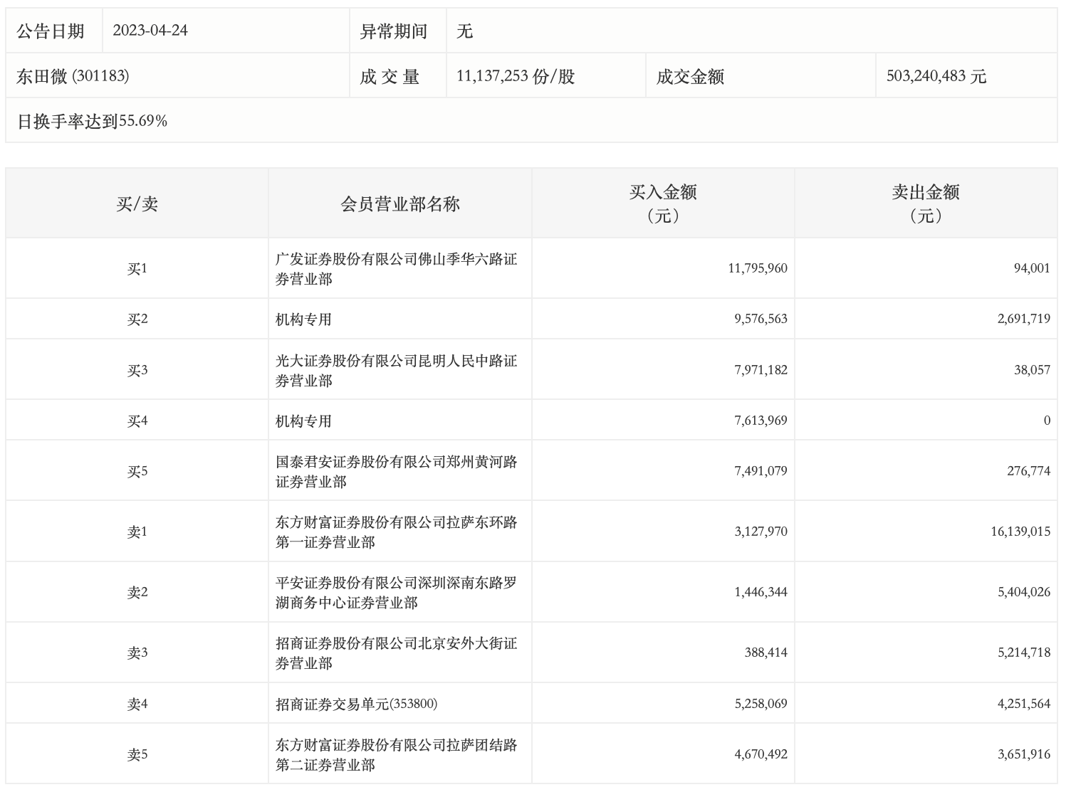
4月24日,东田微今日涨停,龙虎榜数据显示,上榜营业部席位全天成交9710.18万元,占当日总成交金额比例为19.3%。其中,买入金额为5934.0万元,卖出金额为3776.18万元,合计净买入2157.83万元。

具体来看,机构买入1719.05万元,卖出269.17万元,合计净买入1449.88万元。此外,广发证券佛山季华六路证券营业部、光大证券昆明人民中路证券营业部分别买入1179.60万元、797.12万元;东方财富证券拉萨东环路第一证券营业部、平安证券深圳深南东路罗湖商务中心证券营业部分别卖出1613.90万元、540.40万元。