诚达药业:2024年上半年净利润2517.48万元 同比下降14.23%

中证智能财讯 诚达药业(301201)8月28日披露2024年半年度报告。2024年上半年,公司实现营业收入1.64亿元,同比下降1.55%;归母净利润2517.48万元,同比下降14.23%;扣非净利润316.4万元,同比下降80.18%;经营活动产生的现金流量净额为4671.5万元,同比下降47.10%;报告期内,诚达药业基本每股收益为0.165元,加权平均净资产收益率为1.12%。
报告期内,公司合计非经常性损益为2201.08万元,其中除同公司正常经营业务相关的有效套期保值业务外,非金融企业持有金融资产和金融负债产生的公允价值变动损益以及处置金融资产和金融负债产生的损益为2249.81万元。

以8月27日收盘价计算,诚达药业目前市盈率(TTM)约为31.65倍,市净率(LF)约为1.22倍,市销率(TTM)约为6.67倍。

公司近年市盈率(TTM)、市净率(LF)、市销率(TTM)历史分位图如下所示:



根据半年报,公司第二季度实现营业总收入6312.25万元,同比下降1.97%,环比下降37.43%;归母净利润653.03万元,同比下降32.73%,环比下降64.97%;扣非净利润-708.19万元,同比下降458.81%,环比下降169.12%。

半年报称,公司主营业务涵盖为跨国制药企业及医药研发机构提供关键医药中间体、原料药CDMO研发生产服务,以及左旋肉碱系列产品、原料药的研发、生产和销售。
2024年上半年,公司毛利率为39.25%,同比上升0.78个百分点;净利率为15.37%,较上年同期下降2.29个百分点。从单季度指标来看,2024年第二季度公司毛利率为36.77%,同比下降4.89个百分点,环比下降4.03个百分点;净利率为10.27%,较上年同期下降4.94个百分点,较上一季度下降8.29个百分点。

盈利能力方面, 2024年半年度公司加权平均净资产收益率为1.12%,同比下降0.2个百分点。公司2024年上半年投入资本回报率为1.06%,较上年同期下降0.26个百分点。

2024年上半年,公司经营活动现金流净额为4671.5万元,同比下降47.1%;筹资活动现金流净额-5529.05万元,同比减少5529.05万元;投资活动现金流净额-4.15亿元,上年同期为7.21亿元。
进一步统计发现,2024年上半年公司自由现金流为-3.94亿元,上年同期为8.30亿元。

2024年上半年,公司营业收入现金比为138.66%,净现比为185.56%。

营运能力方面,2024年上半年,公司公司总资产周转率为0.07次,上年同期为0.07次(2023年上半年行业平均值为0.19次,公司位居同行业27/29);公司应收账款周转率、存货周转率分别为1.46次、0.80次。

2024年上半年,公司期间费用为6244.53万元,较上年同期增加1590.04万元;期间费用率为38.07%,较上年同期上升10.13个百分点。其中,销售费用同比增长30.9%,管理费用同比增长20.4%,研发费用同比增长97.03%,财务费用由去年同期的-146.72万元变为-296.80万元。
资料显示,销售费用的变动主要因为报告期内加大市场开拓投入;管理费用的变动主要因为报告期内折旧费用和管理人员薪酬增加;财务费用的变动主要因为汇兑损益及购买理财产品的种类不同。

资产重大变化方面,截至2024年上半年末,公司货币资金较上年末减少30.91%,占公司总资产比重下降16.40个百分点;其他非流动资产较上年末增加1043.62%,占公司总资产比重上升3.01个百分点;预付款项较上年末增加1225.42%,占公司总资产比重上升1.18个百分点;在建工程较上年末增加11.22%,占公司总资产比重上升0.98个百分点。

负债重大变化方面,截至2024年上半年末,公司应付票据较上年末减少40.10%,占公司总资产比重下降0.50个百分点;应交税费较上年末减少125.17%,占公司总资产比重下降0.45个百分点;应付账款较上年末增加6.30%,占公司总资产比重上升0.37个百分点;应付职工薪酬较上年末减少50.38%,占公司总资产比重下降0.10个百分点。

从存货变动来看,截至2024年上半年末,公司存货账面价值为1.17亿元,占净资产的5.23%,较上年末减少1300.77万元。其中,存货跌价准备为1167.9万元,计提比例为9.04%。

在偿债能力方面,公司2024年上半年末资产负债率为6.55%,相比上年末下降0.63个百分点;有息资产负债率为0.02%,相比上年末上升0.02个百分点。

2024年上半年,公司流动比率为9.93,速动比率为9.16。

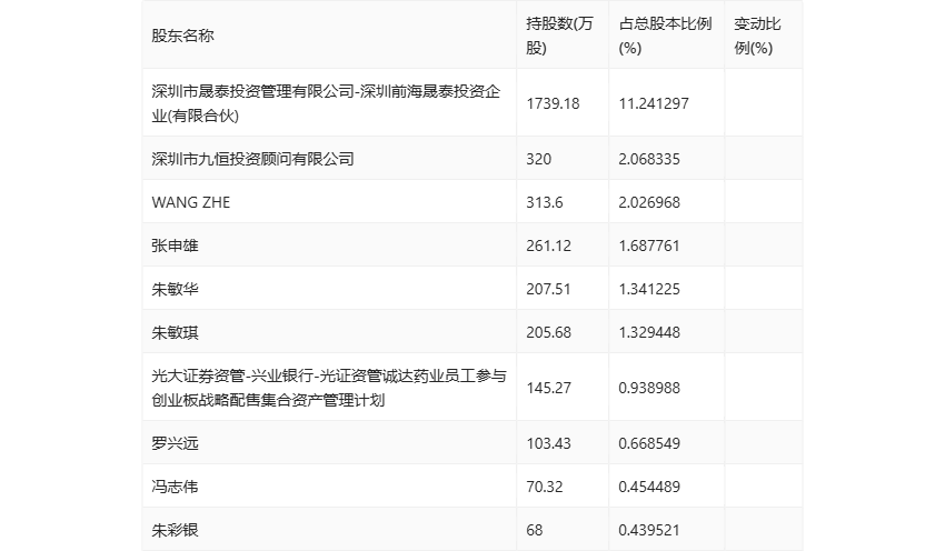
半年报显示,2024年上半年末公司十大流通股东中,新进股东为冯志伟,取代了一季度末的香港中央结算有限公司。在具体持股比例上,朱敏华持股有所上升,张申雄、朱彩银持股有所下降。

筹码集中度方面,截至2024年上半年末,公司股东总户数为1.49万户,较一季度末下降了529户,降幅3.43%;户均持股市值由一季度末的20.39万元下降至18.90万元,降幅为7.31%。

指标注解:
市盈率
=总市值/净利润。当公司亏损时市盈率为负,此时用市盈率估值没有实际意义,往往用市净率或市销率做参考。
市净率
=总市值/净资产。市净率估值法多用于盈利波动较大而净资产相对稳定的公司。
市销率
=总市值/营业收入。市销率估值法通常用于亏损或微利的成长型公司。
文中市盈率和市销率采用TTM方式,即以截至最近一期财报(含预报)12个月的数据计算。市净率采用LF方式,即以最近一期财报数据计算。
市盈率为负时,不显示当期分位数,会导致折线图中断。