龙虎榜丨联特科技今日涨16.9%,机构合计净卖出315.03万元

http://ddx.gubit.cn  2023-05-08 20:37  联特科技(301205)公司分析

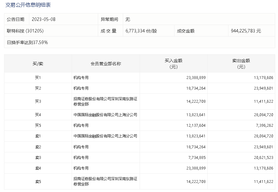
5月8日,联特科技今日涨16.9%,龙虎榜数据显示,上榜营业部席位全天成交1.95亿元,占当日总成交金额比例为20.62%。其中,买入金额为9004.2万元,卖出金额为1.05亿元,合计净卖出1460.03万元。

具体来看,机构买入6199.57万元,卖出6514.6万元,合计净卖出315.03万元。此外,招商证券深圳深南东路证券营业部、中国国际金融上海分公司分别买入1422.27万元、1382.36万元;中国国际金融上海分公司、招商证券深圳深南东路证券营业部分别卖出2808.47万元、1141.16万元。