查股网.CN
首页
选股
热点
资金
板块
大盘
DDX
游资
龙虎
导航
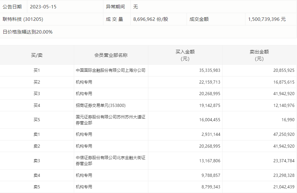
龙虎榜 | 联特科技今日涨停,4家机构专用席位净卖出9174.63万元
龙虎榜 | 联特科技今日涨停,4家机构专用席位净卖出9174.63万元
http://ddx.gubit.cn
2023-05-15 16:28
联特科技(301205)公司分析
5月15日,
联特科技
今日涨停,成交额15.01亿元,换手率48.26%。盘后龙虎榜数据显示,1家机构专用席位净买入528.41万元,4家机构专用席位净卖出9174.63万元。