铜冠铜箔:2023年净利润同比下降93.51% 拟10派0.6元

中证智能财讯 铜冠铜箔(301217)4月26日披露2023年年报。2023年,公司实现营业总收入37.85亿元,同比下降2.33%;归母净利润1720.02万元,同比下降93.51%;扣非净利润亏损2624.78万元,上年同期盈利2.12亿元;经营活动产生的现金流量净额为-6.00亿元,上年同期为4.47亿元;报告期内,铜冠铜箔基本每股收益为0.02元,加权平均净资产收益率为0.31%。公司2023年年度利润分配预案为:拟向全体股东每10股派0.6元(含税)。
报告期内,公司合计非经常性损益为4344.80万元,其中计入当期损益的政府补助为2743.57万元。

以4月25日收盘价计算,铜冠铜箔目前市盈率(TTM)约为491.62倍,市净率(LF)约为1.52倍,市销率(TTM)约为2.23倍。

公司近年市盈率(TTM)、市净率(LF)、市销率(TTM)历史分位图如下所示:



数据统计显示,铜冠铜箔近三年营业总收入复合增长率为15.44%,在锂电池行业已披露2023年数据的25家公司中排名第16。近三年净利润复合年增长率为-37.87%,排名20/25。

资料显示,公司主要从事各类高精度电子铜箔的研发、制造和销售等。
分产品来看,2023年公司主营业务中,PCB铜箔收入22.36亿元,同比增长6.92%,占营业收入的59.08%;锂电池铜箔收入11.39亿元,同比下降20.96%,占营业收入的30.10%;铜扁线等收入2.98亿元,同比增长23.03%,占营业收入的7.88%。

截至2023年末,公司员工总数为1606人,人均创收235.65万元,人均创利1.07万元,人均薪酬11.82万元,较上年同期分别下降14.01%、94.29%、4.83%。

2023年,公司毛利率为2.34%,同比下降7.64个百分点;净利率为0.45%,较上年同期下降6.39个百分点。从单季度指标来看,2023年第四季度公司毛利率为1.94%,同比下降3.90个百分点,环比上升1.42个百分点;净利率为1.13%,较上年同期下降2.21个百分点,较上一季度上升3.31个百分点。

分产品看,PCB铜箔、锂电池铜箔、铜扁线等2023年毛利率分别为2.63%、2.07%、0.57%。

报告期内,公司前五大客户合计销售金额22.41亿元,占总销售金额比例为59.21%,公司前五名供应商合计采购金额35.17亿元,占年度采购总额比例为70.94%。


数据显示,2023年公司加权平均净资产收益率为0.31%,较上年同期下降4.70个百分点;公司2023年投入资本回报率为-0.02%,较上年同期下降5.97个百分点。

2023年,公司经营活动现金流净额为-6.00亿元,同比减少10.47亿元;筹资活动现金流净额3.32亿元,同比减少20.58亿元;投资活动现金流净额-6757.35万元,上年同期为-14.73亿元。
进一步统计发现,2023年公司自由现金流为-4.31亿元,上年同期为-9.50亿元。

2023年,公司营业收入现金比为101.54%,净现比为-3489.10%。

营运能力方面,2023年,公司公司总资产周转率为0.58次,上年同期为0.80次(2022年行业平均值为0.70次,公司位居同行业14/32);公司应收账款周转率、存货周转率分别为6.10次、7.36次。

2023年,公司期间费用为9849.86万元,较上年同期减少1231.02万元;期间费用率为2.60%,较上年同期下降0.26个百分点。其中,销售费用同比增长9.66%,管理费用同比下降35.04%,研发费用同比增长9.06%,财务费用由去年同期的-122.57万元变为-659.78万元。

资产重大变化方面,截至2023年年末,公司交易性金融资产较上年末减少50.01%,占公司总资产比重下降8.95个百分点;货币资金较上年末减少20.83%,占公司总资产比重下降7.61个百分点;应收款项融资较上年末增加375.01%,占公司总资产比重上升6.44个百分点;在建工程较上年末增加56.23%,占公司总资产比重上升3.44个百分点。

负债重大变化方面,截至2023年年末,公司应付账款较上年末增加198.67%,占公司总资产比重上升4.74个百分点;长期借款较上年末增加224.39%,占公司总资产比重上升2.51个百分点;长期递延收益较上年末增加21.88%,占公司总资产比重上升0.18个百分点;应交税费较上年末减少35.81%,占公司总资产比重下降0.12个百分点。

从存货变动来看,截至2023年年末,公司存货账面价值为5.95亿元,占净资产的10.67%,较上年末增加1.87亿元。其中,存货跌价准备为1251.91万元,计提比例为2.06%。

2023年全年,公司研发投入金额为7328.89万元,同比增长9.06%;研发投入占营业收入比例为1.94%,相比上年同期上升0.21个百分点。此外,公司全年研发投入资本化率为0。

在偿债能力方面,公司2023年年末资产负债率为19.61%,相比上年末上升10.67个百分点;有息资产负债率为7.55%,相比上年末上升5.97个百分点。

2023年,公司流动比率为4.12,速动比率为3.48。

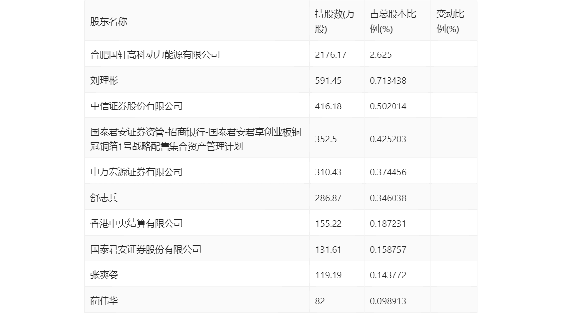
年报显示,2023年年末公司十大流通股东中,新进股东为蔺伟华,取代了三季度末的惠通二号私募证券投资基金。在具体持股比例上,中信证券股份有限公司、申万宏源证券有限公司、香港中央结算有限公司、国泰君安证券股份有限公司持股有所上升,国泰君安证券资管-招商银行-国泰君安君享创业板铜冠铜箔1号战略配售集合资产管理计划、舒志兵持股有所下降。

筹码集中度方面,截至2023年年末,公司股东总户数为4.92万户,较三季度末下降了1586户,降幅3.12%;户均持股市值由三季度末的20.39万元下降至19.98万元,降幅为2.01%。

指标注解:
市盈率
=总市值/净利润。当公司亏损时市盈率为负,此时用市盈率估值没有实际意义,往往用市净率或市销率做参考。
市净率
=总市值/净资产。市净率估值法多用于盈利波动较大而净资产相对稳定的公司。
市销率
=总市值/营业收入。市销率估值法通常用于亏损或微利的成长型公司。
文中市盈率和市销率采用TTM方式,即以截至最近一期财报(含预报)12个月的数据计算。市净率采用LF方式,即以最近一期财报数据计算。
市盈率为负时,不显示当期分位数,会导致折线图中断。