龙虎榜丨华是科技今日涨停,机构合计净买入716.68万元

http://ddx.gubit.cn  2023-07-19 16:41  华是科技(301218)公司分析

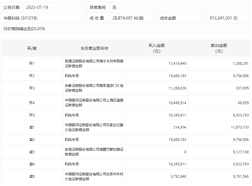
7月19日,华是科技今日涨停,龙虎榜数据显示,上榜营业部席位全天成交1.18亿元,占当日总成交金额比例为12.95%。其中,买入金额为6899.79万元,卖出金额为4925.88万元,合计净买入1973.9万元。

具体来看,机构买入2584.51万元,卖出1867.83万元,合计净买入716.68万元。此外,财通证券海宁水月亭西路证券营业部、华泰证券南京清凉门大街证券营业部分别买入1741.84万元、1128.00万元;中国银河证券石家庄红旗大街证券营业部、安信证券诸暨苎萝东路证券营业部分别卖出1107.37万元、912.71万元。