龙虎榜丨恒工精密今日涨6.94%,机构合计净买入1938.54万元

http://ddx.gubit.cn  2023-09-28 22:40  恒工精密(301261)公司分析

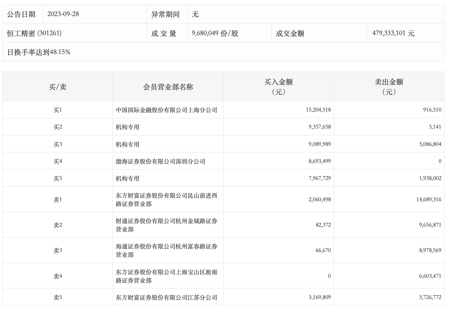
9月28日,恒工精密今日涨6.94%,全天换手率达48.91%,振幅达14.04%。龙虎榜数据显示,营业部席位合计净买入209.13万元。其中,机构买入2641.54万元,卖出702.99万元,合计净买入1938.54万元。此外,中国国际金融上海分公司、渤海证券深圳分公司分别买入1520.45万元、869.35万元;东方财富证券昆山前进西路证券营业部、财通证券杭州金城路证券营业部分别卖出1468.93万元、965.69万元。