龙虎榜丨快可电子今日涨停,知名游资赵老哥净买入920.19万元

查股网  2023-12-28 22:50  快可电子(301278)个股分析

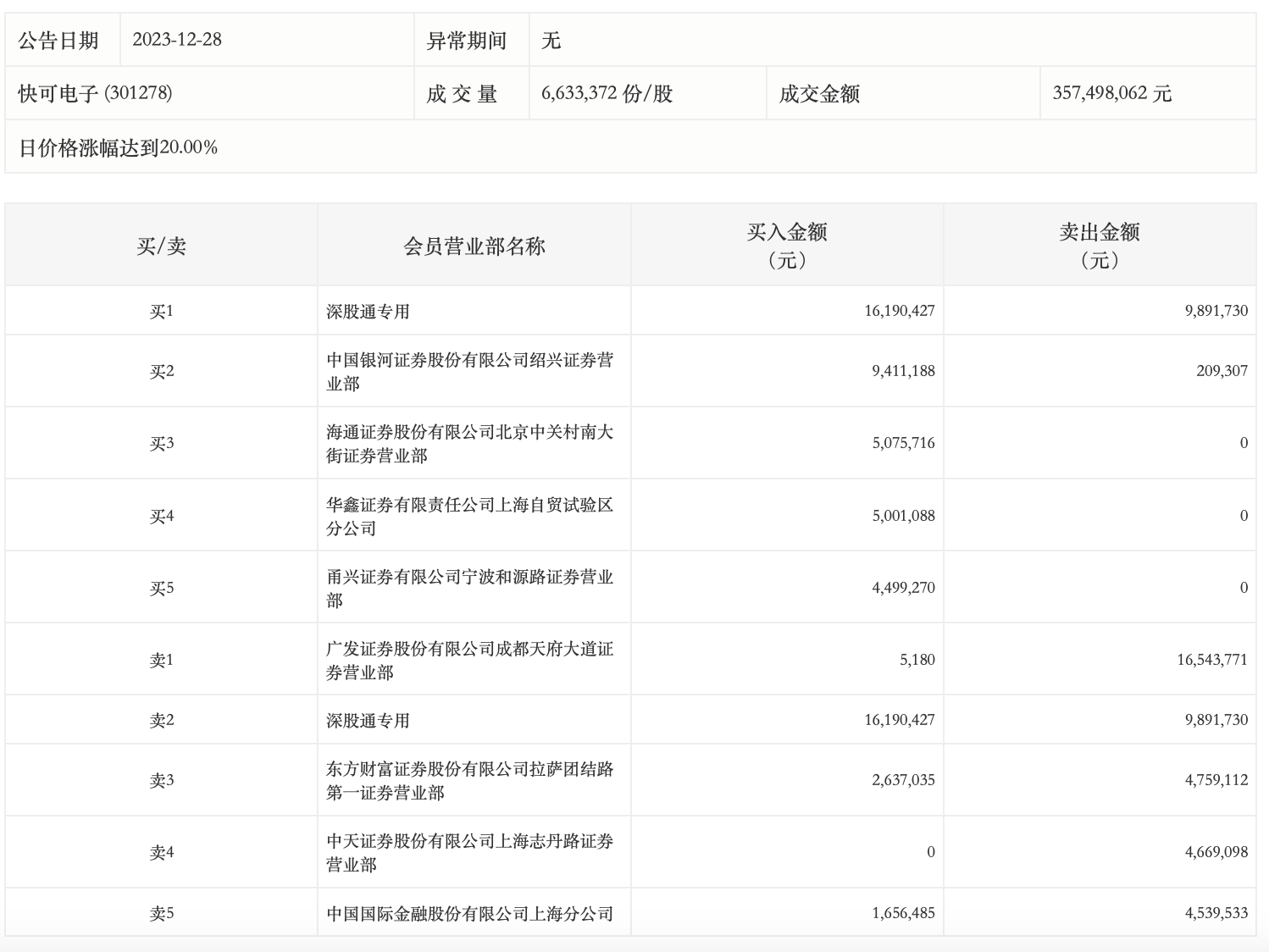
12月28日,快可电子今日涨停,龙虎榜数据显示,上榜营业部席位全天成交8508.89万元,占当日总成交金额比例为23.8%。其中,买入金额为4447.64万元,卖出金额为4061.26万元,合计净买入386.38万元。

具体来看,知名游资现身龙虎榜,深股通专用、赵老哥(中国银河证券绍兴证券营业部)分别买入1619.04万元、941.12万元;广发证券成都天府大道证券营业部、深股通专用分别卖出1654.38万元、989.17万元。