龙虎榜丨科源制药今日涨停,机构合计净买入1102.86万元

http://ddx.gubit.cn  2023-10-11 16:45  科源制药(301281)公司分析

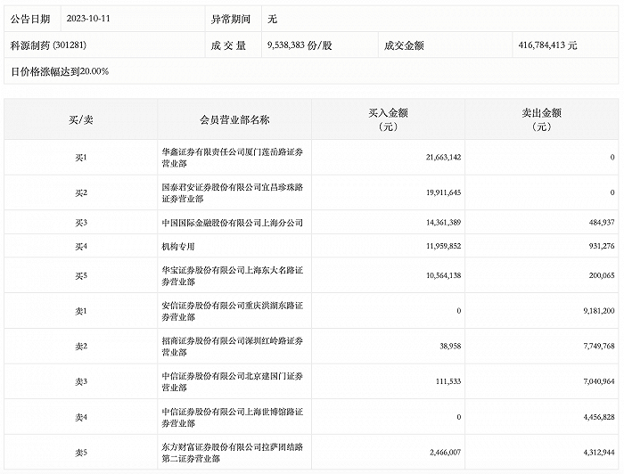
10月11日,科源制药今日涨停,全天换手率达37.13%,振幅达21.15%。龙虎榜数据显示,营业部席位合计净买入4671.87万元。其中,机构买入1195.99万元,卖出93.13万元,合计净买入1102.86万元。此外,华鑫证券厦门莲岳路证券营业部、国泰君安证券宜昌珍珠路证券营业部分别买入2166.31万元、1991.16万元;安信证券重庆洪湖东路证券营业部、招商证券深圳红岭路证券营业部分别卖出918.12万元、774.98万元。