龙虎榜 | 昆船智能今日涨3.21%,知名游资章盟主买入1495.95万元

http://ddx.gubit.cn  2023-05-29 16:40  昆船智能(301311)公司分析

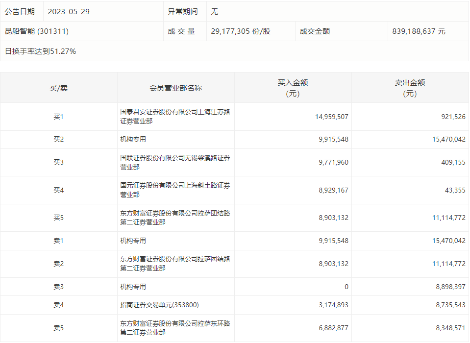
5月29日,昆船智能今日涨3.21%,龙虎榜数据显示,上榜营业部席位全天成交1.16亿元,占当日总成交金额比例为13.88%。其中,买入金额为6253.71万元,卖出金额为5394.14万元,合计净买入859.57万元。

具体来看,机构买入991.55万元,卖出2436.84万元,合计净卖出1445.29万元。此外,知名游资现身龙虎榜,章盟主(国泰君安证券上海江苏路证券营业部)、国联证券无锡梁溪路证券营业部分别买入1495.95万元、977.20万元;东方财富证券拉萨团结路第二证券营业部、招商证券交易单元(353800)分别卖出1111.48万元、873.55万元。