龙虎榜丨昆船智能今日涨停,上榜营业部席位合计净买入9409.56万元

http://ddx.gubit.cn  2023-06-29 16:42  昆船智能(301311)公司分析

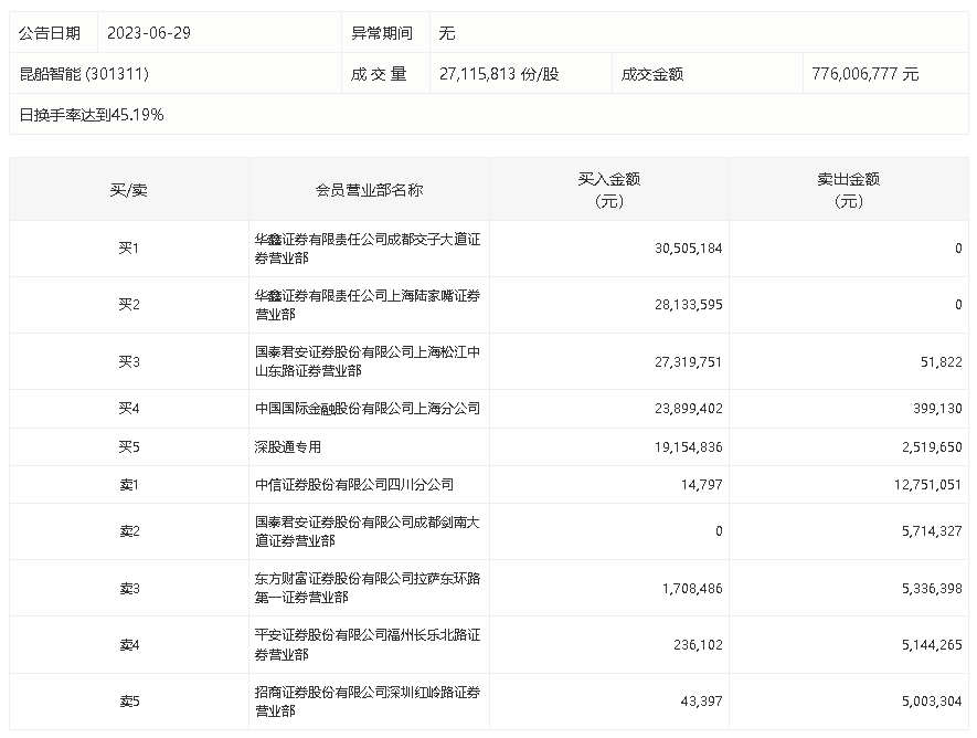
6月29日,昆船智能今日涨停,龙虎榜数据显示,上榜营业部席位全天成交1.68亿元,占当日总成交金额比例为21.64%。其中,买入金额为1.31亿元,卖出金额为3691.99万元,合计净买入9409.56万元。

具体来看,华鑫证券成都交子大道证券营业部、华鑫证券上海陆家嘴证券营业部分别买入3050.52万元、2813.36万元;中信证券四川分公司、国泰君安证券成都剑南大道证券营业部分别卖出1275.11万元、571.43万元。