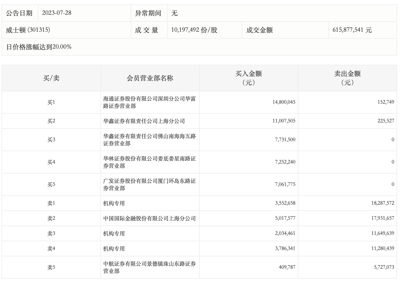
龙虎榜丨威士顿今日涨停,机构合计净卖出3184.42万元

http://ddx.gubit.cn  2023-07-28 22:45  威士顿(301315)公司分析

7月28日,威士顿今日涨停,龙虎榜数据显示,上榜营业部席位全天成交1.28亿元,占当日总成交金额比例为20.77%。其中,买入金额为6265.39万元,卖出金额为6525.47万元,合计净卖出260.08万元。

具体来看,机构买入937.35万元,卖出4121.76万元,合计净卖出3184.42万元。此外,海通证券深圳分公司华富路证券营业部、华鑫证券上海分公司分别买入1480.00万元、1100.75万元;中国国际金融上海分公司、中航证券有限公司景德镇珠山东路证券营业部分别卖出1793.17万元、572.71万元。