趣睡科技:2024年第一季度净利润771.54万元 同比增长20.16%

中证智能财讯 趣睡科技(301336)4月30日披露2024年一季报。2024年第一季度,公司实现营业总收入5976.90万元,同比增长0.45%;归母净利润771.54万元,同比增长20.16%;扣非净利润527.47万元,同比增长32.85%;经营活动产生的现金流量净额为2251.55万元,上年同期为-553.46万元;报告期内,趣睡科技基本每股收益为0.19元,加权平均净资产收益率为0.97%。


2024年第一季度,公司毛利率为27.19%,同比上升1.32个百分点;净利率为12.91%,较上年同期上升2.12个百分点。

数据显示,2024年第一季度公司加权平均净资产收益率为0.97%,较上年同期增长0.15个百分点;公司2024年第一季度投入资本回报率为0.72%,较上年同期增长0.09个百分点。

截至2024年一季度末,公司经营活动现金流净额为2251.55万元,同比增加2805.01万元;筹资活动现金流净额-995.01万元,同比减少995.01万元;投资活动现金流净额939.14万元,上年同期为-1028.7万元。

2024年第一季度,公司营业收入现金比为181.96%,净现比为291.82%。

资产重大变化方面,截至2024年一季度末,公司应收账款较上年末减少63.05%,占公司总资产比重下降3.96个百分点;一年内到期的非流动资产较上年末增加52.66%,占公司总资产比重上升3.39个百分点;货币资金较上年末增加42.43%,占公司总资产比重上升2.42个百分点;其他非流动资产较上年末减少11.57%,占公司总资产比重下降2.15个百分点。

负债重大变化方面,截至2024年一季度末,公司应付账款较上年末减少57.13%,占公司总资产比重下降5.10个百分点;应付票据较上年末增加94.91%,占公司总资产比重上升2.62个百分点;其他应付款(含利息和股利)较上年末减少51.26%,占公司总资产比重下降0.07个百分点;递延所得税负债较上年末增加18.13%,占公司总资产比重上升0.08个百分点。

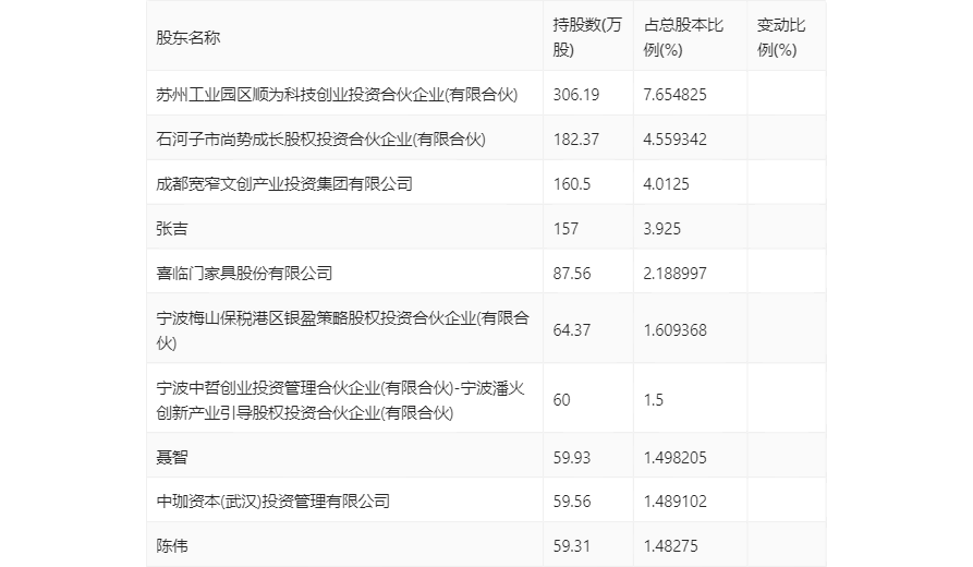
一季报显示,2024年一季度末公司十大流通股东中,持股最多的为苏州工业园区顺为科技创业投资合伙企业(有限合伙),占比7.65%。十大流通股东名单相比2023年年报维持不变。在具体持股比例上,张吉、陈伟持股有所上升。

筹码集中度方面,截至2024年一季度末,公司股东总户数为6479户,较上年末下降了1242户,降幅16.09%;户均持股市值由上年末的22.69万元下降至20.81万元,降幅为8.29%。
