龙虎榜丨亚华电子今日涨0.41%,知名游资作手新一净卖出1310.15万元

查股网  2024-01-09 17:18  亚华电子(301337)个股分析

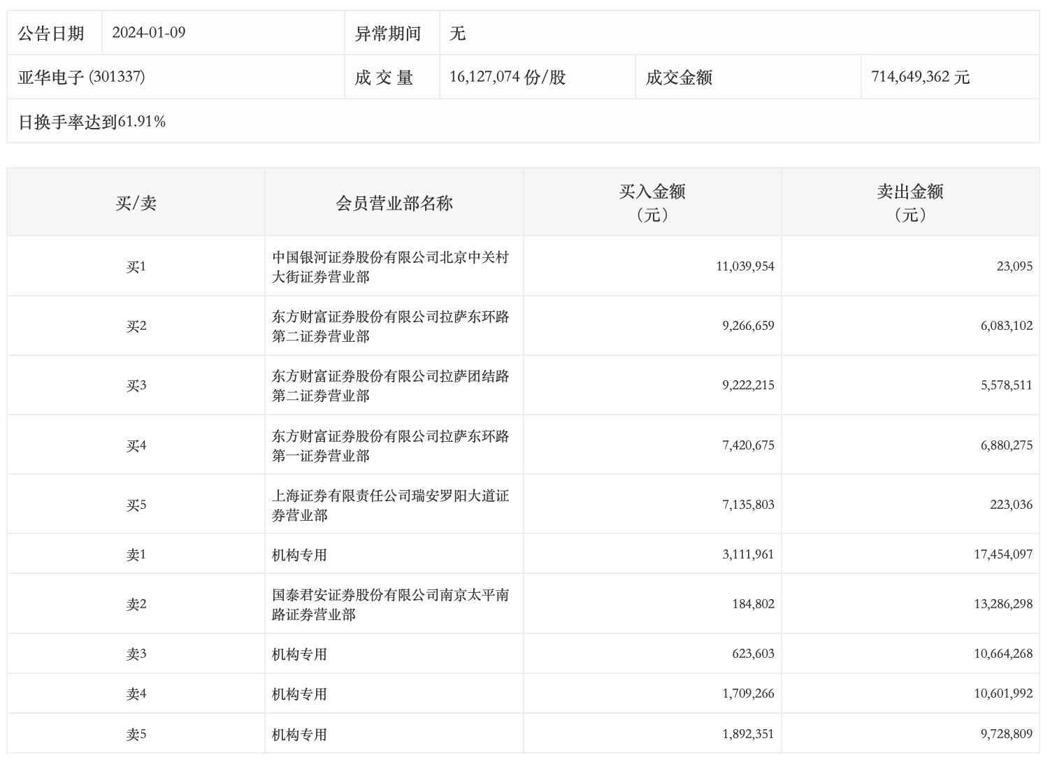
1月9日,亚华电子今日涨0.41%,龙虎榜数据显示,上榜营业部席位全天成交1.32亿元,占当日总成交金额比例为18.49%。其中,买入金额为5160.73万元,卖出金额为8052.35万元,合计净卖出2891.62万元。

具体来看,机构买入733.72万元,卖出4844.92万元,合计净卖出4111.2万元。此外,知名游资现身龙虎榜,中国银河证券北京中关村大街证券营业部、东方财富证券拉萨东环路第二证券营业部分别买入1104.00万元、926.67万元;作手新一(国泰君安证券南京太平南路证券营业部)、东方财富证券拉萨东环路第一证券营业部分别卖出1328.63万元、688.03万元。