龙虎榜丨亚华电子今日跌11.59%,机构合计净买入804.76万元

查股网  2024-01-19 16:39  亚华电子(301337)个股分析

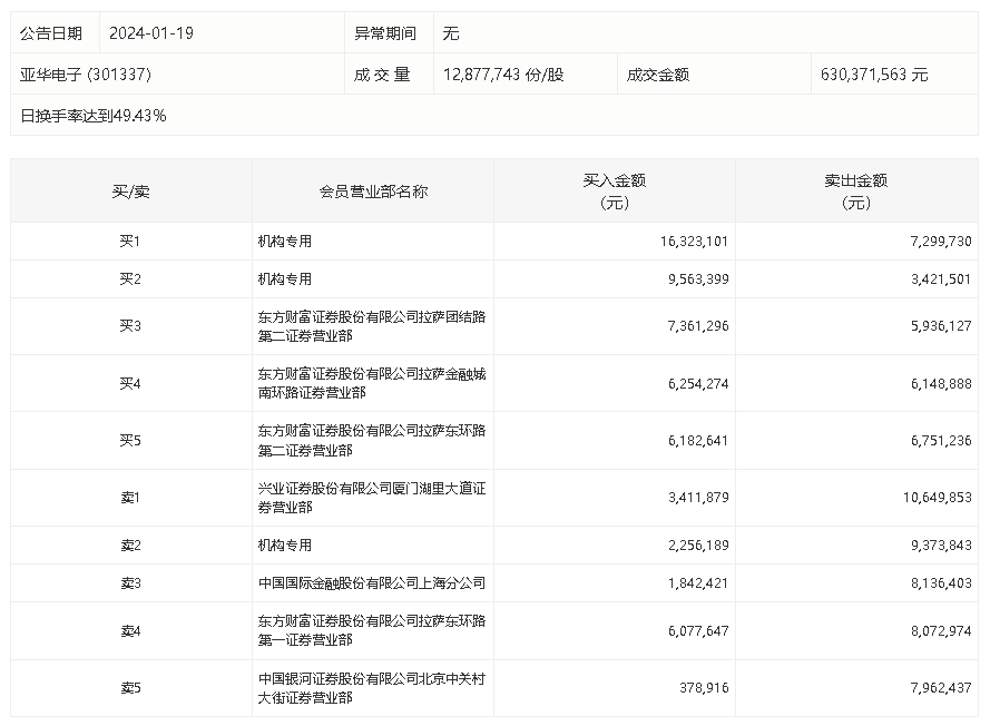
1月19日,亚华电子今日跌11.59%,全天换手率达49.43%,振幅达10.88%。龙虎榜数据显示,营业部席位合计净卖出1410.12万元。其中,机构买入2814.27万元,卖出2009.51万元,合计净买入804.76万元。此外,兴业证券厦门湖里大道证券营业部、中国国际金融上海分公司分别卖出1064.99万元、813.64万元;东方财富证券拉萨团结路第二证券营业部、东方财富证券拉萨金融城南环路证券营业部分别买入736.13万元、625.43万元。