龙虎榜丨亚华电子今日涨0.83%,知名游资孙哥净卖出1687.1万元

查股网  2024-02-27 19:19  亚华电子(301337)个股分析

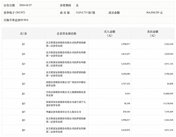
2月27日,亚华电子今日涨0.83%,龙虎榜数据显示,上榜营业部席位全天成交8277.27万元,占当日总成交金额比例为14.66%。其中,买入金额为2588.2万元,卖出金额为5689.07万元,合计净卖出3100.86万元。

具体来看,知名游资现身龙虎榜,东方财富证券拉萨团结路第二证券营业部、东方财富证券拉萨东环路第一证券营业部分别买入599.80万元、581.42万元;孙哥(中信证券上海溧阳路证券营业部)、国泰君安证券咸宁咸宁大道证券营业部分别卖出1688.01万元、1413.90万元。