龙虎榜丨北方长龙今日涨8.05%,机构合计净买入724.32万元

查股网  2023-11-23 19:23  北方长龙(301357)个股分析

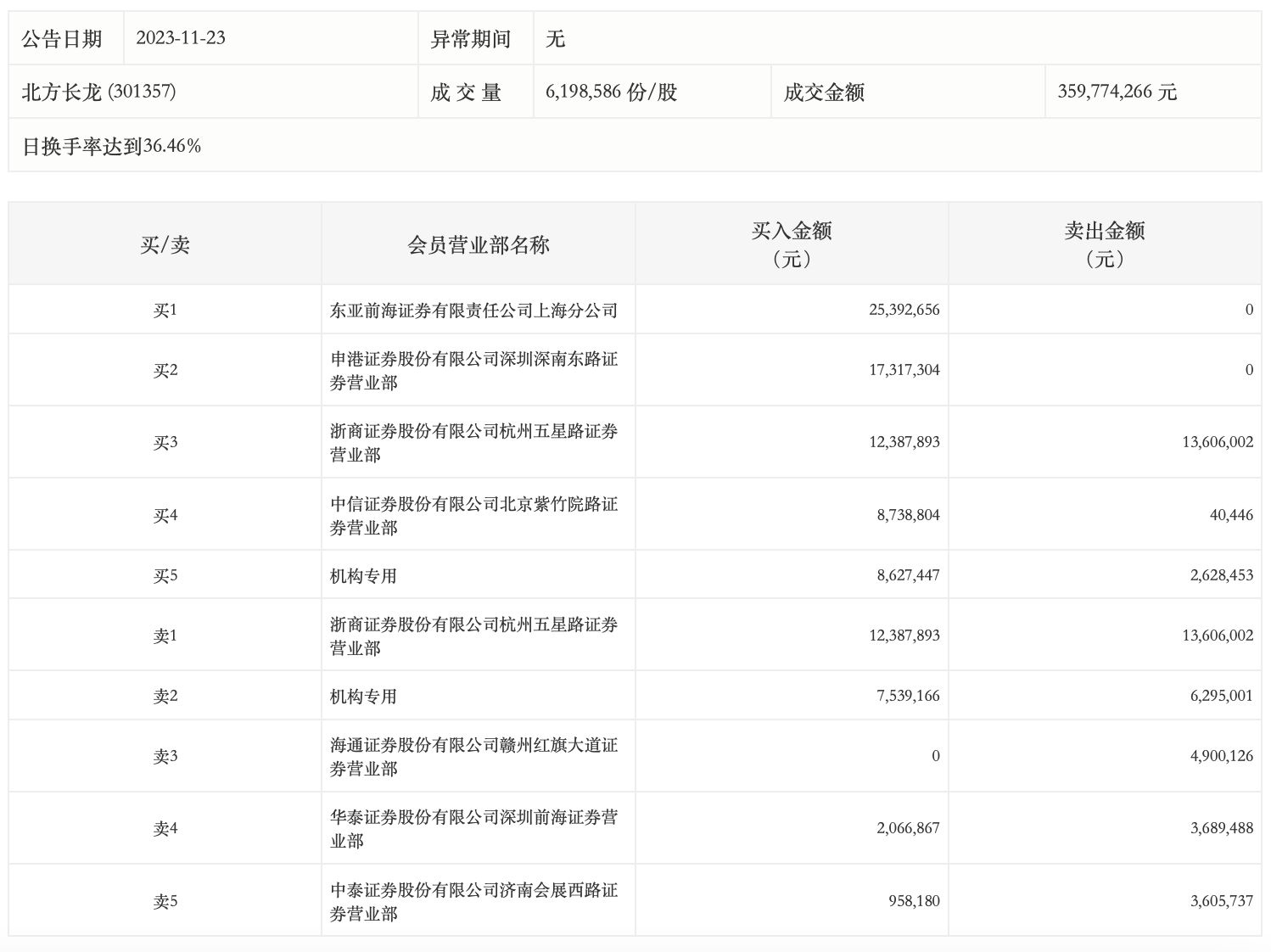
11月23日,北方长龙今日涨8.05%,全天换手率达36.46%,振幅达13.97%。龙虎榜数据显示,营业部席位合计净买入4826.31万元。其中,机构买入1616.66万元,卖出892.35万元,合计净买入724.32万元。此外,东亚前海证券上海分公司、申港证券深圳深南东路证券营业部分别买入2539.27万元、1731.73万元;浙商证券杭州五星路证券营业部、海通证券赣州红旗大道证券营业部分别卖出1360.60万元、490.01万元。