龙虎榜 | 众智科技今日涨停,机构合计净卖出147.26万元

http://ddx.gubit.cn  2023-05-22 16:41  众智科技(301361)公司分析

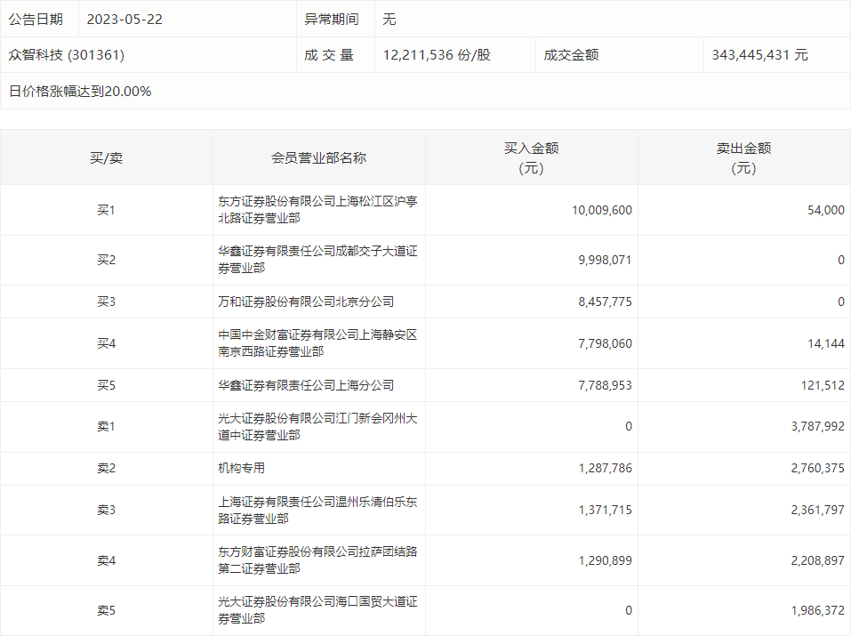
5月22日,众智科技今日涨停,龙虎榜数据显示,上榜营业部席位全天成交6129.79万元,占当日总成交金额比例为17.85%。其中,买入金额为4800.29万元,卖出金额为1329.51万元,合计净买入3470.78万元。

具体来看,机构买入128.78万元,卖出276.04万元,合计净卖出147.26万元。此外,东方证券上海松江区沪亭北路证券营业部、华鑫证券成都交子大道证券营业部分别买入1000.96万元、999.81万元;光大证券江门新会冈州大道中证券营业部、上海证券温州乐清伯乐东路证券营业部分别卖出378.80万元、236.18万元。