美好医疗:2024年第一季度净利润5803.99万元 同比下降46.46%

中证智能财讯 美好医疗(301363)4月18日披露2024年一季报。2024年第一季度,公司实现营业总收入2.82亿元,同比下降23.34%;归母净利润5803.99万元,同比下降46.46%;扣非净利润5571.72万元,同比下降44.38%;经营活动产生的现金流量净额为7492.18万元,同比增长19.25%;报告期内,美好医疗基本每股收益为0.14元,加权平均净资产收益率为1.91%。


2024年第一季度,公司毛利率为38.29%,同比下降5.10个百分点;净利率为20.61%,较上年同期下降8.90个百分点。

数据显示,2024年第一季度公司加权平均净资产收益率为1.91%,较上年同期下降1.62个百分点;公司2024年第一季度投入资本回报率为1.46%,较上年同期下降1.97个百分点。

截至2024年一季度末,公司经营活动现金流净额为7492.18万元,同比增长19.25%;筹资活动现金流净额-187.51万元,同比减少187.51万元;投资活动现金流净额-3.32亿元,上年同期为1.14亿元。

2024年第一季度,公司营业收入现金比为106.53%,净现比为129.09%。

资产重大变化方面,截至2024年一季度末,公司交易性金融资产较上年末增加2183.32%,占公司总资产比重上升9.68个百分点;货币资金较上年末减少18.42%,占公司总资产比重下降9.41个百分点;存货较上年末减少7.46%,占公司总资产比重下降0.92个百分点;其他非流动资产较上年末增加56.70%,占公司总资产比重上升0.48个百分点。

负债重大变化方面,截至2024年一季度末,公司应付职工薪酬较上年末减少40.63%,占公司总资产比重下降0.62个百分点;应付账款较上年末增加18.55%,占公司总资产比重上升0.54个百分点;应付票据较上年末减少26.79%,占公司总资产比重下降0.22个百分点;合同负债较上年末增加6.80%,占公司总资产比重上升0.10个百分点。

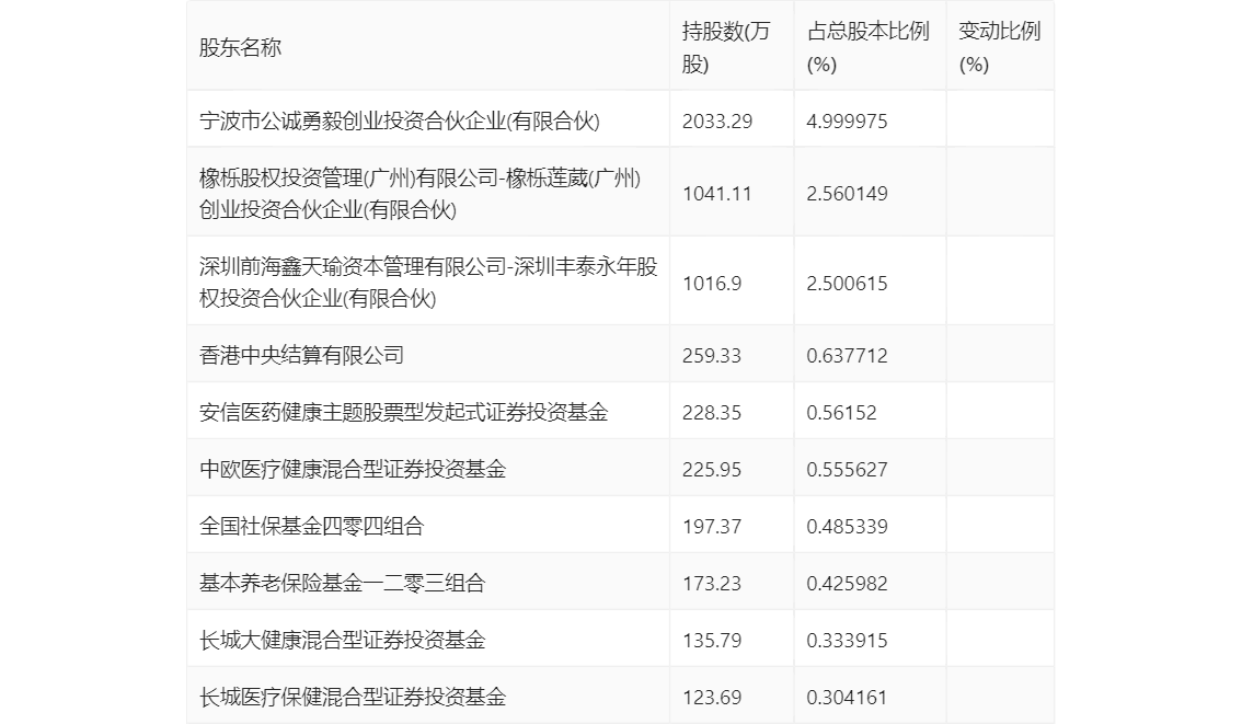
一季报显示,2024年一季度末公司十大流通股东中,新进股东为长城大健康混合型证券投资基金,取代了上年末的长城基金-恒大人寿保险有限公司-分红险-长城基金恒大人寿1号单一资产管理计划。在具体持股比例上,香港中央结算有限公司、基本养老保险基金一二零三组合、长城医疗保健混合型证券投资基金持股有所上升,橡栎股权投资管理(广州)有限公司-橡栎莲葳(广州)创业投资合伙企业(有限合伙)、深圳前海鑫天瑜资本管理有限公司-深圳丰泰永年股权投资合伙企业(有限合伙)、安信医药健康主题股票型发起式证券投资基金、中欧医疗健康混合型证券投资基金、全国社保基金四零四组合持股有所下降。

筹码集中度方面,截至2024年一季度末,公司股东总户数为8886户,较上年末增长了1399户,增幅18.69%;户均持股市值由上年末的199.88万元下降至113.86万元,降幅为43.04%。
