龙虎榜丨丰立智能今日涨停,知名游资著名刺客净买入918.79万元

http://ddx.gubit.cn  2023-05-19 23:04  丰立智能(301368)公司分析

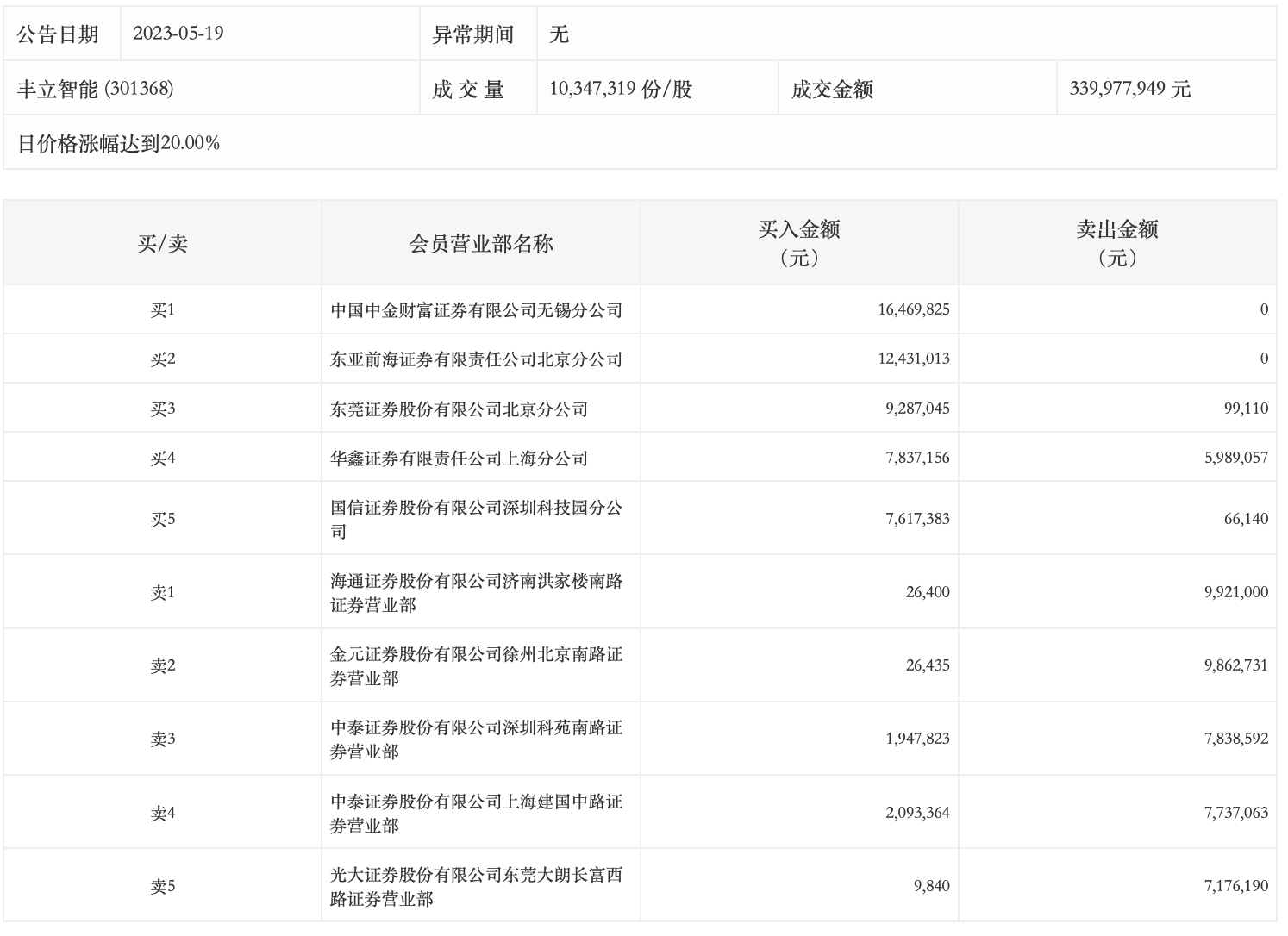
5月19日,丰立智能今日涨停,龙虎榜数据显示,上榜营业部席位全天成交1.06亿元,占当日总成交金额比例为31.31%。其中,买入金额为5774.63万元,卖出金额为4868.99万元,合计净买入905.64万元。

具体来看,知名游资现身龙虎榜,著名刺客(东莞证券股份有限公司北京分公司)净买入918.79万元。此外,中国中金财富证券有限公司无锡分公司、东亚前海证券北京分公司分别买入1646.98万元、1243.10万元;海通证券济南洪家楼南路证券营业部、金元证券徐州北京南路证券营业部分别卖出992.10万元、986.27万元。