龙虎榜丨丰立智能今日涨8.7%,机构合计净买入1199.39万元

查股网  2023-11-30 21:55  丰立智能(301368)个股分析

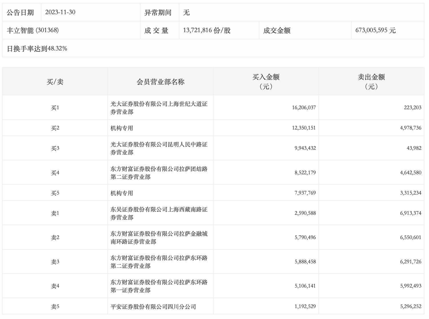
11月30日,丰立智能今日涨8.7%,全天换手率达48.32%,振幅达14.7%。龙虎榜数据显示,营业部席位合计净买入3127.96万元。其中,机构买入2028.79万元,卖出829.4万元,合计净买入1199.39万元。此外,光大证券(维权)上海世纪大道证券营业部、光大证券昆明人民中路证券营业部分别买入1620.60万元、994.34万元;东吴证券上海西藏南路证券营业部、东方财富证券拉萨金融城南环路证券营业部分别卖出691.34万元、655.06万元。