龙虎榜丨国科恒泰今日涨停,上榜营业部席位合计净买入6338.38万元

http://ddx.gubit.cn  2023-08-08 20:59  国科恒泰(301370)公司分析

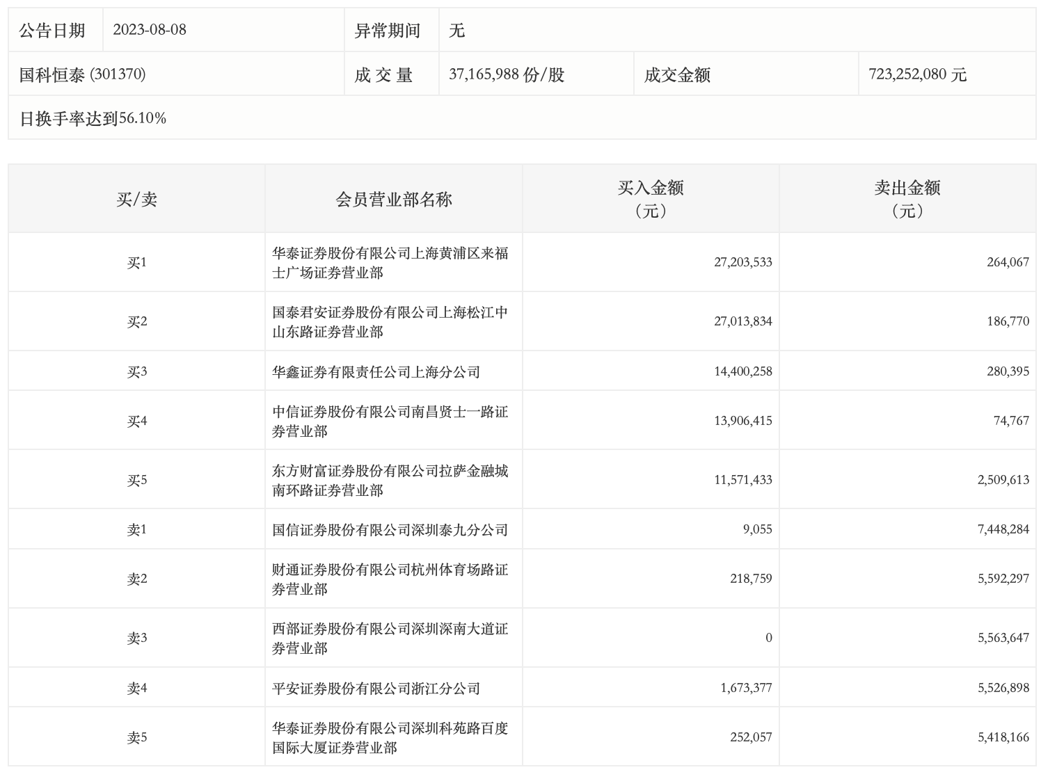
8月8日,国科恒泰今日涨停,龙虎榜数据显示,上榜营业部席位全天成交1.29亿元,占当日总成交金额比例为17.85%。其中,买入金额为9624.87万元,卖出金额为3286.49万元,合计净买入6338.38万元。

具体来看,华泰证券上海黄浦区来福士广场证券营业部、国泰君安证券上海松江中山东路证券营业部分别买入2720.35万元、2701.38万元;国信证券深圳泰九分公司、财通证券杭州体育场路证券营业部分别卖出744.83万元、559.23万元。