龙虎榜丨开创电气今日涨停,知名游资作手新一净买入850.94万元

http://ddx.gubit.cn  2023-11-13 16:47  开创电气(301448)公司分析

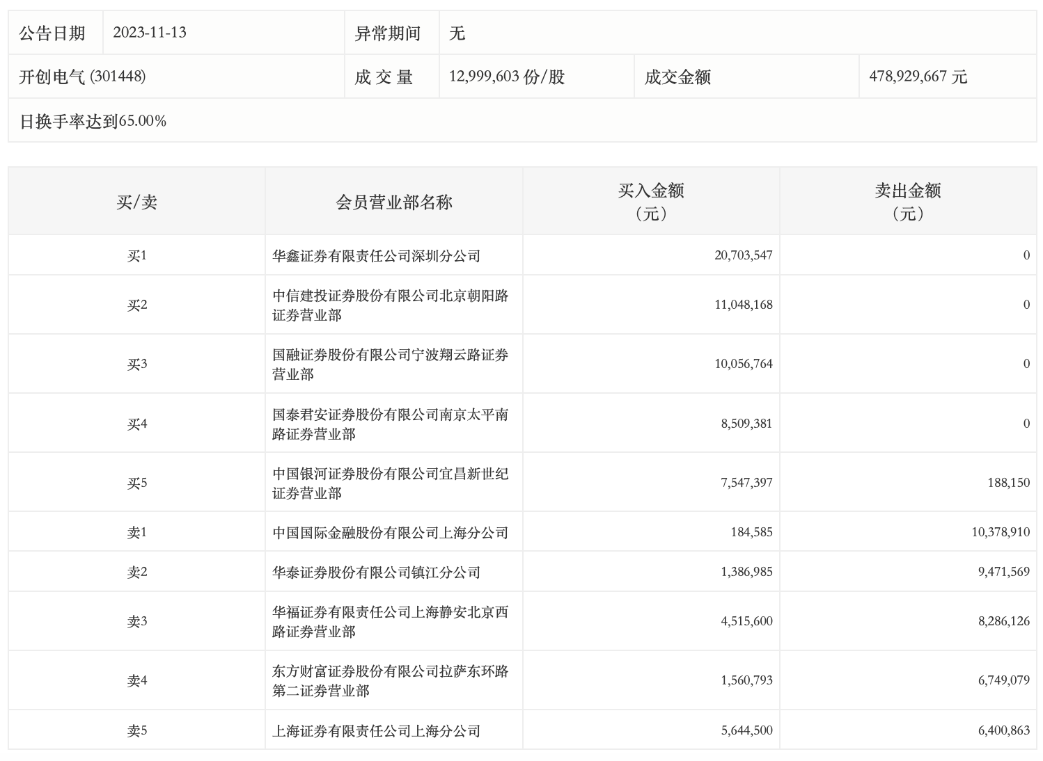
11月13日,开创电气今日涨停,龙虎榜数据显示,上榜营业部席位全天成交1.13亿元,占当日总成交金额比例为23.52%。其中,买入金额为7115.77万元,卖出金额为4147.47万元,合计净买入2968.3万元。

具体来看,知名游资现身龙虎榜,作手新一(国泰君安证券股份有限公司南京太平南路证券营业部)净买入850.94万元。此外,华鑫证券深圳分公司、中信建投证券北京朝阳路证券营业部分别买入2070.35万元、1104.82万元;中国国际金融上海分公司、华泰证券镇江分公司分别卖出1037.89万元、947.16万元。