龙虎榜丨开创电气今日涨停,营业部席位合计净买入1041.39万元

查股网  2023-11-14 21:39  开创电气(301448)个股分析

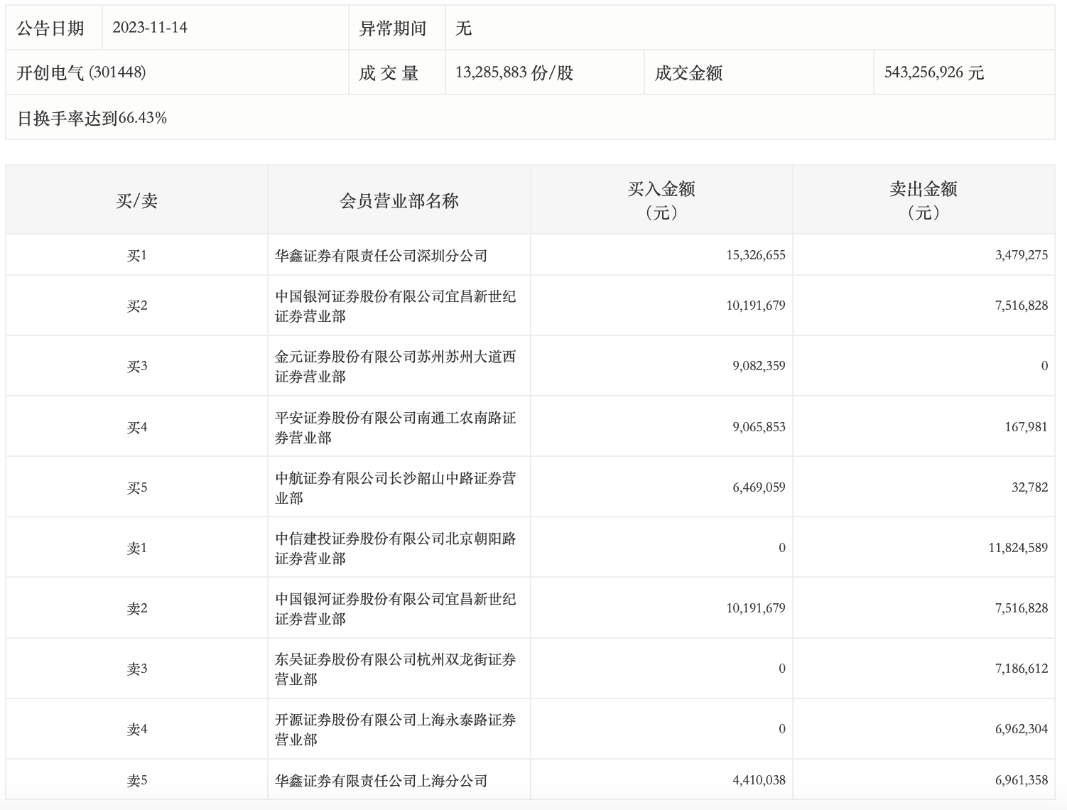
11月14日,开创电气今日涨停,全天换手率达66.43%,振幅达17.7%。龙虎榜数据显示,营业部席位合计净买入1041.39万元。其中,华鑫证券深圳分公司、中国银河证券宜昌新世纪证券营业部分别买入1532.67万元、1019.17万元;中信建投证券北京朝阳路证券营业部、中国银河证券宜昌新世纪证券营业部分别卖出1182.46万元、751.68万元。