盘古智能:2023年净利润同比增长2.29% 拟10派2元

中证智能财讯 盘古智能(301456)4月26日披露2023年年报。2023年,公司实现营业总收入4.09亿元,同比增长19.19%;归母净利润1.11亿元,同比增长2.29%;扣非净利润9992.92万元,同比增长0.36%;经营活动产生的现金流量净额为3021.55万元,同比下降80.26%;报告期内,盘古智能基本每股收益为0.87元,加权平均净资产收益率为8.64%。公司2023年年度利润分配预案为:拟向全体股东每10股派2元(含税)。

以4月25日收盘价计算,盘古智能目前市盈率(TTM)约为32.23倍,市净率(LF)约为1.72倍,市销率(TTM)约为8.72倍。
公司近年市盈率(TTM)、市净率(LF)、市销率(TTM)历史分位图如下所示:



截至2023年末,盘古智能三年营业总收入复合增长率为5.55%,三年净利润复合年增长率为-11.14%。

资料显示,公司主要从事集中润滑系统及其核心部件研发、生产与销售。
分产品来看,2023年公司主营业务中,润滑系统及配件收入3.10亿元,同比增长9.63%,占营业收入的75.85%;液压系统及配件收入0.70亿元,同比增长69.08%,占营业收入的17.10%。

截至2023年末,公司员工总数为415人,人均创收98.63万元,人均创利26.68万元,人均薪酬15.39万元,较上年同期分别变化-5.23%、-18.66%、2.24%。

2023年,公司毛利率为44.37%,同比下降5.81个百分点;净利率为27.05%,较上年同期下降4.47个百分点。从单季度指标来看,2023年第四季度公司毛利率为43.04%,同比下降7.32个百分点,环比上升3.62个百分点;净利率为28.86%,较上年同期下降0.42个百分点,较上一季度上升11.30个百分点。

分产品看,润滑系统及配件、液压系统及配件2023年毛利率分别为48.28%、29.74%。
报告期内,公司前五大客户合计销售金额2.14亿元,占总销售金额比例为52.12%,公司前五名供应商合计采购金额0.45亿元,占年度采购总额比例为23.48%。


数据显示,2023年公司加权平均净资产收益率为8.64%,较上年同期下降8.40个百分点;公司2023年投入资本回报率为7.35%,较上年同期下降9.59个百分点。

2023年,公司经营活动现金流净额为3021.55万元,同比下降80.26%;筹资活动现金流净额12.65亿元,同比增加12.65亿元;投资活动现金流净额-13.08亿元,上年同期为-1.65亿元。
进一步统计发现,2023年公司自由现金流为-12.85亿元,上年同期为0.41亿元。

2023年,公司营业收入现金比为62.41%,净现比为27.29%。

营运能力方面,2023年,公司公司总资产周转率为0.27次,上年同期为0.47次(2022年行业平均值为0.50次,公司位居同行业13/21);固定资产周转率为2.80次,上年同期为2.64次(2022年行业平均值为3.06次,公司位居同行业12/21);公司应收账款周转率、存货周转率分别为1.59次、2.91次。

2023年,公司期间费用为5735.27万元,较上年同期增加196.57万元;但期间费用率为14.01%,较上年同期下降2.12个百分点。其中,销售费用同比增长26.63%,管理费用同比增长28.18%,研发费用同比增长10.13%,财务费用由去年同期的-104.98万元变为-1143.51万元。

资产重大变化方面,截至2023年年末,公司其他流动资产较上年末增加6974.28%,占公司总资产比重上升31.66个百分点;交易性金融资产较上年末增加638.66%,占公司总资产比重上升19.39个百分点;应收账款较上年末增加26.71%,占公司总资产比重下降15.47个百分点;货币资金较上年末减少32.78%,占公司总资产比重下降12.31个百分点。

负债重大变化方面,截至2023年年末,公司应付账款较上年末增加61.69%,占公司总资产比重下降2.60个百分点;应付票据较上年末增加81.91%,占公司总资产比重下降0.94个百分点;应交税费较上年末减少58.37%,占公司总资产比重下降1.65个百分点;应付职工薪酬较上年末增加19.37%,占公司总资产比重下降0.76个百分点。

从存货变动来看,截至2023年年末,公司存货账面价值为8351.6万元,占净资产的4.04%,较上年末增加1027.37万元。其中,存货跌价准备为354.15万元,计提比例为4.07%。

2023年全年,公司研发投入金额为1977.70万元,同比增长10.13%;研发投入占营业收入比例为4.83%,相比上年同期下降0.40个百分点。此外,公司全年研发投入资本化率为0。

在偿债能力方面,公司2023年年末资产负债率为6.90%,相比上年末下降6.95个百分点;有息资产负债率为0.05%,相比上年末上升0.01个百分点。

2023年,公司流动比率为13.46,速动比率为12.88。

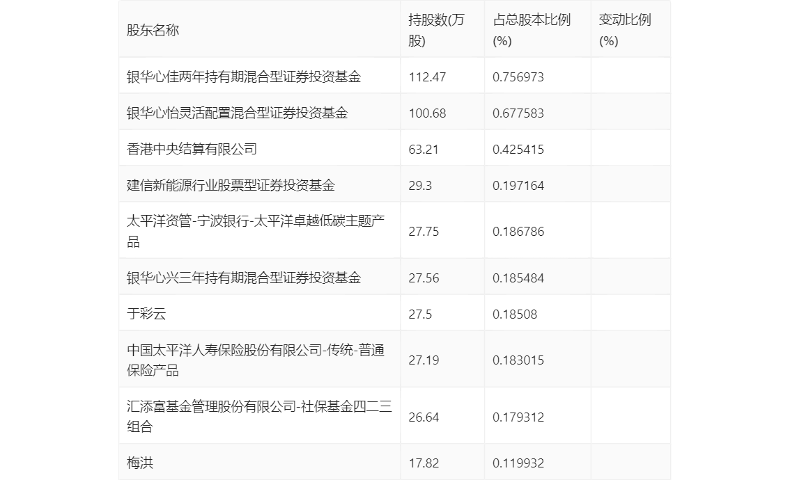
年报显示,2023年年末公司十大流通股东中,新进股东为银华心佳两年持有期混合型证券投资基金、银华心怡灵活配置混合型证券投资基金、太平洋资管-宁波银行-太平洋卓越低碳主题产品、银华心兴三年持有期混合型证券投资基金、于彩云、中国太平洋人寿保险股份有限公司-传统-普通保险产品、汇添富基金管理股份有限公司-社保基金四二三组合、梅洪。在具体持股比例上,香港中央结算有限公司持股有所下降。

筹码集中度方面,截至2023年年末,公司股东总户数为2.17万户,较三季度末下降了1302户,降幅5.65%;户均持股市值由三季度末的24.44万元下降至21.05万元,降幅为13.87%。

指标注解:
市盈率
=总市值/净利润。当公司亏损时市盈率为负,此时用市盈率估值没有实际意义,往往用市净率或市销率做参考。
市净率
=总市值/净资产。市净率估值法多用于盈利波动较大而净资产相对稳定的公司。
市销率
=总市值/营业收入。市销率估值法通常用于亏损或微利的成长型公司。
文中市盈率和市销率采用TTM方式,即以截至最近一期财报(含预报)12个月的数据计算。市净率采用LF方式,即以最近一期财报数据计算。
市盈率为负时,不显示当期分位数,会导致折线图中断。