龙虎榜丨豪恩汽电今日跌9.31%,机构合计净卖出7261.77万元

http://ddx.gubit.cn  2023-07-12 20:15  豪恩汽电(301488)公司分析

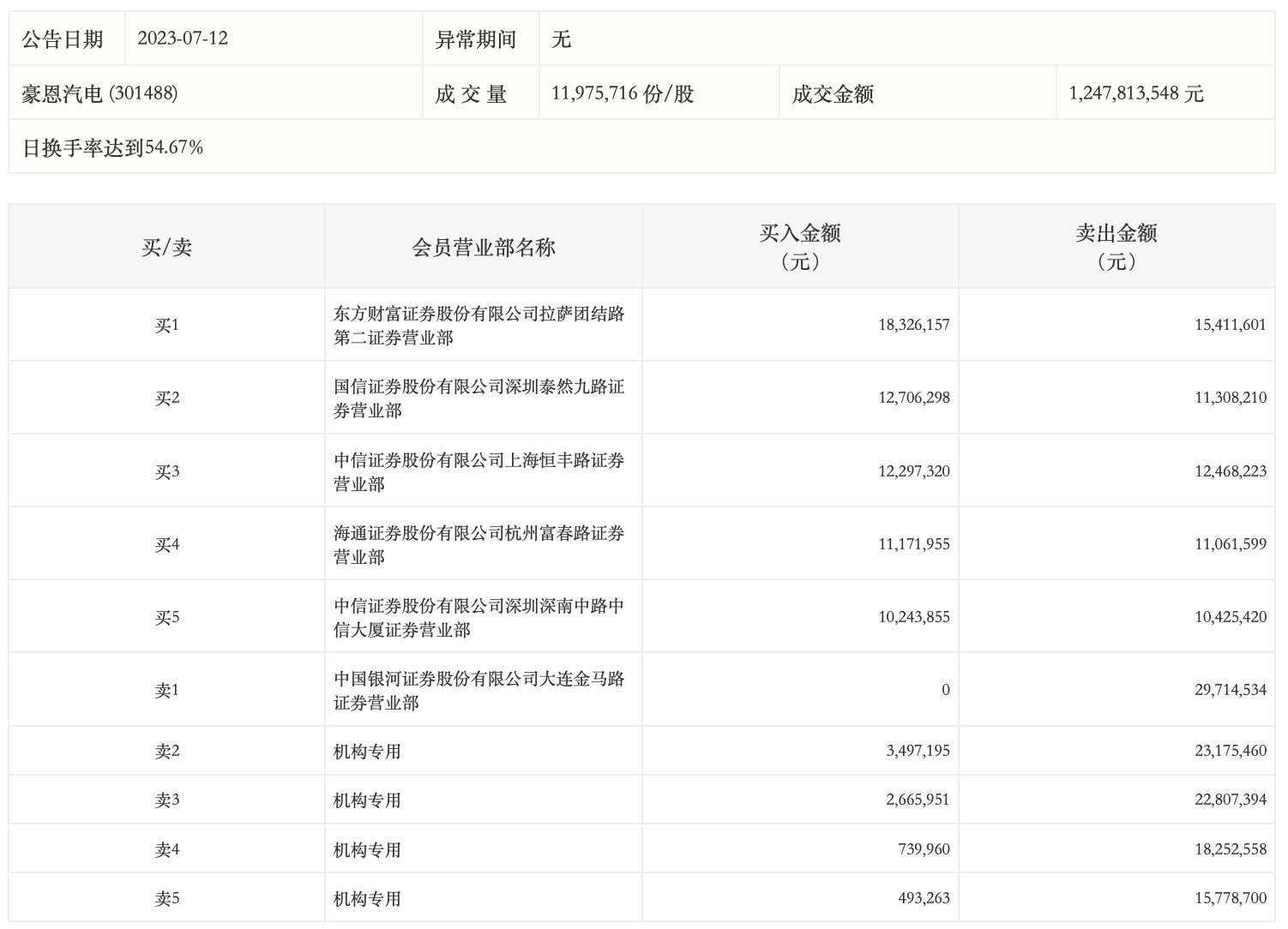
7月12日,豪恩汽电今日跌9.31%,龙虎榜数据显示,上榜营业部席位全天成交2.43亿元,占当日总成交金额比例为19.44%。其中,买入金额为7214.2万元,卖出金额为1.7亿元,合计净卖出9826.17万元。

具体来看,机构买入739.64万元,卖出8001.41万元,合计净卖出7261.77万元。此外,中国银河证券大连金马路证券营业部、东方财富证券拉萨团结路第二证券营业部分别卖出2971.45万元、1541.16万元;东方财富证券拉萨团结路第二证券营业部、国信证券深圳泰然九路证券营业部分别买入1832.62万元、1270.63万元。