龙虎榜丨福赛科技今日跌9.67%,“拉萨天团”占7席

http://ddx.gubit.cn  2023-09-18 20:45  福赛科技(301529)公司分析

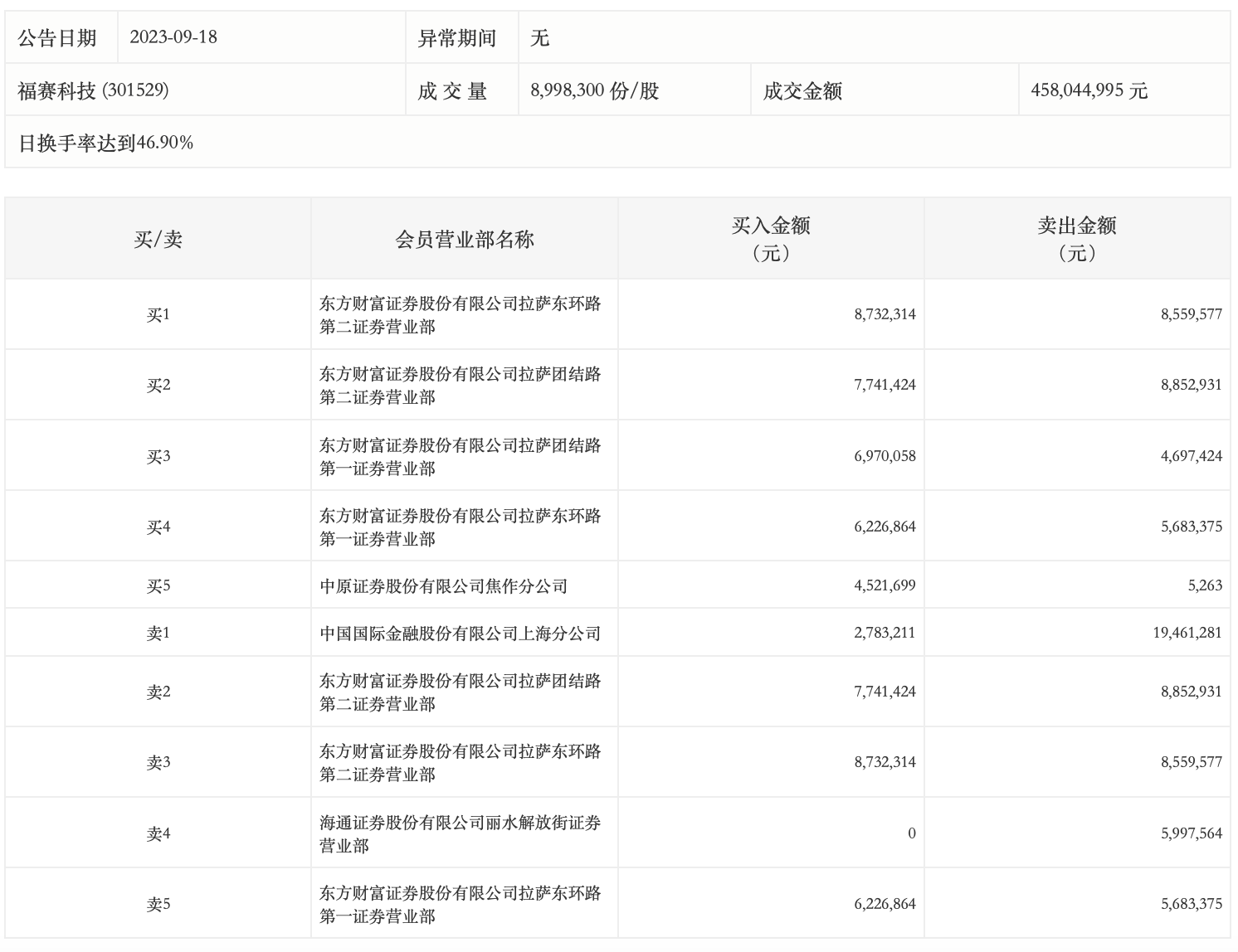
9月18日,福赛科技今日跌9.67%,龙虎榜数据显示,上榜营业部席位全天成交9023.3万元,占当日总成交金额比例为19.7%。其中,买入金额为3697.56万元,卖出金额为5325.74万元,合计净卖出1628.18万元。

具体来看,中国国际金融上海分公司、东方财富证券拉萨团结路第二证券营业部分别卖出1946.13万元、885.29万元;东方财富证券拉萨东环路第二证券营业部、东方财富证券拉萨团结路第二证券营业部分别买入873.23万元、774.14万元。