三态股份:2024年第一季度净利润3009.81万元 同比下降19.03%

中证智能财讯 三态股份(301558)4月25日披露2024年一季报。2024年第一季度,公司实现营业总收入3.89亿元,同比下降0.51%;归母净利润3009.81万元,同比下降19.03%;扣非净利润2478.93万元,同比下降29.06%;经营活动产生的现金流量净额为757.84万元,同比下降89.25%;报告期内,三态股份基本每股收益为0.0382元,加权平均净资产收益率为2.11%。


2024年第一季度,公司毛利率为31.74%,同比下降1.85个百分点;净利率为7.73%,较上年同期下降1.77个百分点。

盈利能力方面, 2024年一季度公司加权平均净资产收益率为2.11%,同比下降4.94个百分点。公司2024年第一季度投入资本回报率为2.04%,较上年同期上升2.04个百分点。

2024年第一季度,公司经营活动现金流净额为757.84万元,同比下降89.25%,主要系购买商品、接受劳务支付的现金及支付职工薪酬增加所致;筹资活动现金流净额-326.52万元,同比增加116.72万元;投资活动现金流净额-2.65亿元,上年同期为-2536.29万元,主要系购买理财产品增加所致。

2024年第一季度,公司营业收入现金比为100.25%,净现比为25.18%。

资产重大变化方面,截至2024年一季度末,公司交易性金融资产较上年末增加33.27%,占公司总资产比重上升17.30个百分点;货币资金较上年末减少48.40%,占公司总资产比重下降16.92个百分点;预付款项较上年末减少33.34%,占公司总资产比重下降0.29个百分点;使用权资产较上年末减少15.66%,占公司总资产比重下降0.28个百分点。

负债重大变化方面,截至2024年一季度末,公司应付账款较上年末减少25.89%,占公司总资产比重下降0.85个百分点;应付职工薪酬较上年末减少46.99%,占公司总资产比重下降0.62个百分点;租赁负债较上年末减少33.20%,占公司总资产比重下降0.16个百分点;合同负债较上年末减少2.98%,占公司总资产比重下降0.08个百分点。

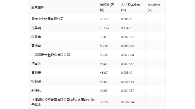
一季报显示,2024年一季度末公司十大流通股东中,新进股东为马善炳、陈香惠、黄婉莹、中国国际金融股份有限公司、黄利泰、张晓娥、赵桂林、上海明汯投资管理有限公司-明汯多策略对冲1号基金,取代了上年末的BARCLAYS BANK PLC、中邮战略新兴产业混合型证券投资基金、华泰证券股份有限公司、陈斌、云程测试2号私募证券投资基金、左朝国、王和平、蔡东红。在具体持股比例上,香港中央结算有限公司持股有所上升。

筹码集中度方面,截至2024年一季度末,公司股东总户数为3.15万户,较上年末下降了1.06万户,降幅25.12%;户均持股市值由上年末的27.94万元下降至26.70万元,降幅为4.44%。
