龙虎榜丨美信科技今日跌11.59%,机构合计净卖出1095.64万元

查股网  2024-01-31 16:57  美信科技(301577)个股分析

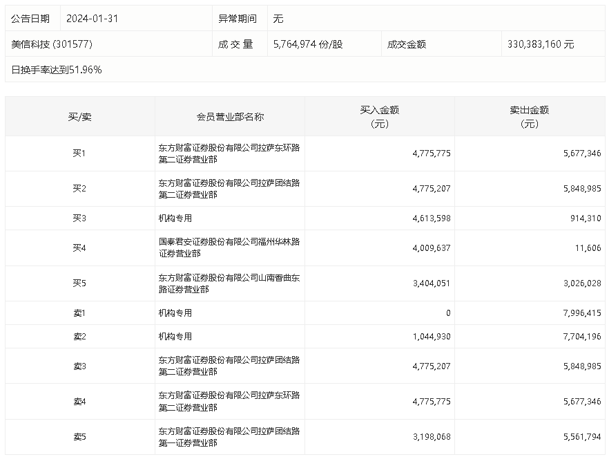
1月31日,美信科技今日跌11.59%,全天换手率达51.96%,振幅达8.76%。龙虎榜数据显示,营业部席位合计净卖出1091.94万元。其中,机构买入565.85万元,卖出1661.49万元,合计净卖出1095.64万元。此外,东方财富证券拉萨团结路第二证券营业部、东方财富证券拉萨东环路第二证券营业部分别卖出584.90万元、567.73万元;东方财富证券拉萨东环路第二证券营业部、东方财富证券拉萨团结路第二证券营业部分别买入477.58万元、477.52万元。