龙虎榜丨辰奕智能今日涨63.32%,机构合计净卖出825.79万元

查股网  2023-12-28 23:04  辰奕智能(301578)个股分析

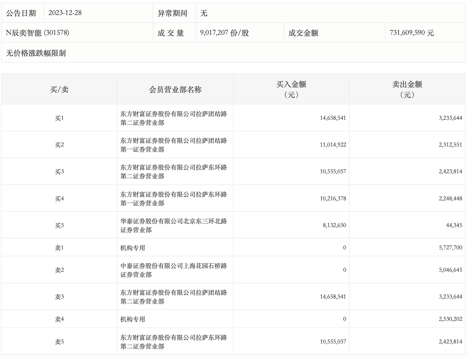
12月28日,辰奕智能今日涨63.32%,全天换手率达79.25%,振幅达39.58%。龙虎榜数据显示,营业部席位合计净买入3101.02万元。其中,机构合计净卖出825.79万元。此外,东方财富证券拉萨团结路第二证券营业部、东方财富证券拉萨团结路第一证券营业部分别买入1465.85万元、1101.49万元;中泰证券上海花园石桥路证券营业部、东方财富证券拉萨团结路第二证券营业部分别卖出504.66万元、323.36万元。