龙虎榜 | 强达电路今日涨5.97%,赵老哥卖出1356.19万元

查股网  2025-01-10 20:51  强达电路(301628)个股分析

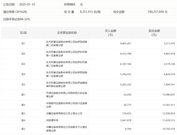
强达电路1月10日涨5.97%,龙虎榜数据显示,上榜营业部席位全天成交1.21亿元,占当日总成交金额比例为16.36%。其中,买入金额为3724.59万元,卖出金额为8389.47万元,合计净卖出4664.88万元。

具体来看,知名游资现身龙虎榜,东方财富证券拉萨团结路第二证券营业部、东方财富证券拉萨东环路第一证券营业部分别买入980.52万元、641.28万元;开源证券西安西大街证券营业部、赵老哥(中国银河证券绍兴证券营业部)分别卖出1598.00万元、1356.19万元。