宝钢股份:2024年上半年净利润同比下降0.17% 拟10派1.1元

中证智能财讯 宝钢股份(600019)8月28日披露2024年半年度报告。2024年上半年,公司实现营业收入1632.51亿元,同比下降3.89%;归母净利润45.45亿元,同比下降0.17%;扣非净利润42.35亿元,同比增长12.84%;经营活动产生的现金流量净额为57.38亿元,同比下降8.02%;报告期内,宝钢股份基本每股收益为0.21元,加权平均净资产收益率为2.26%。公司2024年半年度分配预案为:拟向全体股东每10股派现1.1元(含税)。
公告称,公司营业收入变化主要由于低于上年同期,主要受钢铁市场需求下滑、价格同比下跌影响。

以8月27日收盘价计算,宝钢股份目前市盈率(TTM)约为11.14倍,市净率(LF)约为0.66倍,市销率(TTM)约为0.39倍。

公司近年市盈率(TTM)、市净率(LF)、市销率(TTM)历史分位图如下所示:



根据半年报,公司第二季度实现营业总收入824.37亿元,同比下降9.74%,环比增长2.01%;归母净利润26.18亿元,同比下降3.29%,环比增长35.93%;扣非净利润26.59亿元,同比增长28.21%,环比增长68.72%。

半年报称,公司是中国最现代化的特大型钢铁联合企业,也是国际领先的世界级钢铁联合企业。公司专注于钢铁业,同时从事与钢铁主业相关的加工配送、化工、信息科技、金融以及电子商务等业务。公司拥有上海宝山、武汉青山、湛江东山、南京梅山等主要制造基地,是全球碳钢品种最为齐全的钢铁企业之一。
2024年上半年,公司毛利率为5.73%,同比上升0.63个百分点;净利率为3.21%,较上年同期上升0.13个百分点。从单季度指标来看,2024年第二季度公司毛利率为6.32%,同比上升1.38个百分点,环比上升1.19个百分点;净利率为3.58%,较上年同期上升0.24个百分点,较上一季度上升0.75个百分点。

数据显示,2024年上半年公司加权平均净资产收益率为2.26%,较上年同期下降0.06个百分点;公司2024年上半年投入资本回报率为2.09%,较上年同期增长0.08个百分点。

2024年上半年,公司经营活动现金流净额为57.38亿元,同比下降8.02%;筹资活动现金流净额32.08亿元,同比减少30.83亿元;投资活动现金流净额-134.14亿元,上年同期为18.56亿元。
进一步统计发现,2024年上半年公司自由现金流为-1.23亿元,上年同期为102.53亿元。

2024年上半年,公司营业收入现金比为111.48%,净现比为126.25%。

营运能力方面,2024年上半年,公司公司总资产周转率为0.44次,上年同期为0.44次(2023年上半年行业平均值为0.53次,公司位居同行业13/17);固定资产周转率为1.09次,上年同期为1.14次(2023年上半年行业平均值为1.03次,公司位居同行业10/17);公司应收账款周转率、存货周转率分别为11.22次、3.48次。

2024年上半年,公司期间费用为47.42亿元,较上年同期减少2256.11万元;但期间费用率为2.90%,较上年同期上升0.09个百分点。其中,销售费用同比下降8.03%,管理费用同比下降16.74%,研发费用同比增长6.49%,财务费用同比增长78.82%。
资料显示,销售费用的变动主要因为略低于上年同期;管理费用的变动主要因为低于上年同期,主要受辞退福利计提及绩效薪兑现影响;财务费用的变动主要因为利息支出上升0.4亿元;利息收入增加0.8亿元;汇兑损失增加3.4亿元,上半年美元兑人民币中间价较即期市场价偏离较大,抬高了即期购汇损失;研发费用的变动主要因为公司进一步加大研发投入,推进绿色低碳技术研发。

资产重大变化方面,截至2024年上半年末,公司货币资金较上年末减少18.43%,占公司总资产比重下降1.14个百分点;长期股权投资较上年末增加1.36%,占公司总资产比重上升0.42个百分点;应收票据较上年末减少14.12%,占公司总资产比重下降0.30个百分点;固定资产较上年末减少1.44%,占公司总资产比重上升0.29个百分点。

负债重大变化方面,截至2024年上半年末,公司一年内到期的非流动负债较上年末增加120.78%,占公司总资产比重上升3.36个百分点;长期借款较上年末减少36.30%,占公司总资产比重下降2.89个百分点,主要系一年内到期的长期借款重分类转出至一年内到期的非流动负债;其他流动负债较上年末增加406.81%,占公司总资产比重上升2.86个百分点;应付账款较上年末减少10.77%,占公司总资产比重下降1.26个百分点。

在偿债能力方面,公司2024年上半年末资产负债率为40.39%,相比上年末下降1.07个百分点;有息资产负债率为12.28%,相比上年末上升0.22个百分点。

2024年上半年,公司流动比率为1.10,速动比率为0.73。

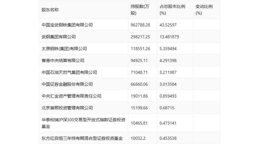
半年报显示,2024年上半年末公司十大流通股东中,持股最多的为中国宝武钢铁集团有限公司,占比43.53%。十大流通股东名单相比2024年一季报维持不变。在具体持股比例上,华泰柏瑞沪深300交易型开放式指数证券投资基金、东方红启恒三年持有期混合型证券投资基金持股有所上升,香港中央结算有限公司持股有所下降。

筹码集中度方面,截至2024年上半年末,公司股东总户数为24.56万户,较一季度末下降了4796户,降幅1.92%;户均持股市值由一季度末的58.65万元上升至59.89万元,增幅为2.11%。

指标注解:
市盈率
=总市值/净利润。当公司亏损时市盈率为负,此时用市盈率估值没有实际意义,往往用市净率或市销率做参考。
市净率
=总市值/净资产。市净率估值法多用于盈利波动较大而净资产相对稳定的公司。
市销率
=总市值/营业收入。市销率估值法通常用于亏损或微利的成长型公司。
文中市盈率和市销率采用TTM方式,即以截至最近一期财报(含预报)12个月的数据计算。市净率采用LF方式,即以最近一期财报数据计算。
市盈率为负时,不显示当期分位数,会导致折线图中断。