上海电力:2024年第一季度净利润6.34亿元 同比增长89.20%

中证智能财讯 上海电力(600021)4月27日披露2024年一季报。2024年第一季度,公司实现营业总收入106.08亿元,同比增长2.57%;归母净利润6.34亿元,同比增长89.20%;扣非净利润6.36亿元,同比增长101.14%;经营活动产生的现金流量净额为18.53亿元,同比增长40.63%;报告期内,上海电力基本每股收益为0.1978元,加权平均净资产收益率为3.03%。



2024年第一季度,公司毛利率为25.70%,同比上升4.31个百分点;净利率为12.54%,较上年同期上升4.18个百分点。

数据显示,2024年第一季度公司加权平均净资产收益率为3.03%,较上年同期增长1.24个百分点;公司2024年第一季度投入资本回报率为1.44%,较上年同期增长0.29个百分点。

2024年第一季度,公司经营活动现金流净额为18.53亿元,同比增长40.63%,主要系收到的与经营性相关的往来款较上年同期大幅增加而支付的与经营性相关的往来款较上年同期大幅下降,导导致经营活动产生的现金流量净额同比增加所致;筹资活动现金流净额18.01亿元,同比减少66.77亿元;投资活动现金流净额-17.64亿元,上年同期为-34.84亿元。

2024年第一季度,公司营业收入现金比为86.94%,净现比为292.36%。

资产重大变化方面,截至2024年一季度末,公司固定资产较上年末减少1.30%,占公司总资产比重下降2.37个百分点;应收账款较上年末增加18.90%,占公司总资产比重上升1.81个百分点;货币资金较上年末增加27.72%,占公司总资产比重上升0.96个百分点;其他非流动资产较上年末减少18.60%,占公司总资产比重下降0.57个百分点。

负债重大变化方面,截至2024年一季度末,公司一年内到期的非流动负债较上年末减少46.37%,占公司总资产比重下降2.58个百分点;长期借款较上年末增加5.81%,占公司总资产比重上升0.78个百分点;短期借款较上年末增加9.89%,占公司总资产比重上升0.78个百分点;应付债券较上年末增加17.86%,占公司总资产比重上升0.60个百分点。

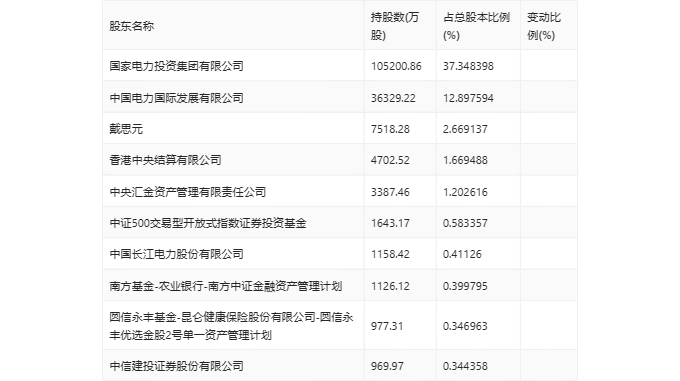
一季报显示,2024年一季度末公司十大流通股东中,新进股东为中证500交易型开放式指数证券投资基金,取代了上年末的银华基金-农业银行-银华中证金融资产管理计划。在具体持股比例上,戴思元、香港中央结算有限公司、中信建投证券股份有限公司持股有所上升。

筹码集中度方面,截至2024年一季度末,公司股东总户数为16.13万户,较上年末下降了6835户,降幅4.07%;户均持股市值由上年末的14.17万元上升至15.16万元,增幅为6.99%。
