浙能电力:2024年第一季度净利润18.15亿元 同比增长79.62%

中证智能财讯 浙能电力(600023)4月30日披露2024年一季报。2024年第一季度,公司实现营业总收入200.24亿元,同比增长13.45%;归母净利润18.15亿元,同比增长79.62%;扣非净利润17.58亿元,同比增长110.76%;经营活动产生的现金流量净额为17.96亿元,上年同期为-12.82亿元;报告期内,浙能电力基本每股收益为0.14元,加权平均净资产收益率为2.65%。



2024年第一季度,公司毛利率为9.34%,同比上升5.03个百分点;净利率为9.69%,较上年同期上升3.68个百分点。

盈利能力方面, 2024年一季度公司加权平均净资产收益率为2.65%,同比上升1.02个百分点。公司2024年第一季度投入资本回报率为1.69%,较上年同期上升0.54个百分点。

2024年第一季度,公司经营活动现金流净额为17.96亿元,同比增加30.77亿元,主要系公司下属企业经营效益提升,经营现金净流入增加所致;筹资活动现金流净额7632.98万元,同比减少39.66亿元,主要系取得贷款规模下降所致;投资活动现金流净额-19.92亿元,上年同期为-30.72亿元,主要系上年同期支付了收购中来股份投资款所致。

2024年第一季度,公司营业收入现金比为117.11%,净现比为98.93%。

资产重大变化方面,截至2024年一季度末,公司长期股权投资较上年末增加5.20%,占公司总资产比重上升1.10个百分点;固定资产较上年末减少2.52%,占公司总资产比重下降0.90个百分点;在建工程较上年末增加19.96%,占公司总资产比重上升0.85个百分点;应收账款较上年末减少4.28%,占公司总资产比重下降0.40个百分点。

负债重大变化方面,截至2024年一季度末,公司应付账款较上年末减少15.83%,占公司总资产比重下降1.21个百分点;一年内到期的非流动负债较上年末增加7.99%,占公司总资产比重上升0.32个百分点;短期借款较上年末减少3.75%,占公司总资产比重下降0.28个百分点;应交税费较上年末减少42.93%,占公司总资产比重下降0.22个百分点。

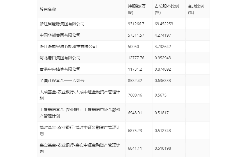
一季报显示,2024年一季度末公司十大流通股东中,新进股东为全国社保基金一一六组合,取代了上年末的银华基金-农业银行-银华中证金融资产管理计划。在具体持股比例上,香港中央结算有限公司持股有所下降。

筹码集中度方面,截至2024年一季度末,公司股东总户数为11.83万户,较上年末下降了1.17万户,降幅8.98%;户均持股市值由上年末的47.57万元上升至75.62万元,增幅为58.97%。
