浙江新能:2024年上半年净利润同比增长49.92% 拟10派0.56元

中证智能财讯 浙江新能(600032)8月27日披露2024年半年度报告。2024年上半年,公司实现营业收入25.95亿元,同比增长16.06%;归母净利润4.46亿元,同比增长49.92%;扣非净利润4.1亿元,同比增长46.38%;经营活动产生的现金流量净额为9.19亿元,同比增长3.21%;报告期内,浙江新能基本每股收益为0.1856元,加权平均净资产收益率为3.62%。公司2024年半年度分配预案为:拟向全体股东每10股派现0.56元(含税)。


以8月26日收盘价计算,浙江新能目前市盈率(TTM)约为20.95倍,市净率(LF)约为1.31倍,市销率(TTM)约为3.33倍。

公司近年市盈率(TTM)、市净率(LF)、市销率(TTM)历史分位图如下所示:



根据半年报,公司第二季度实现营业总收入14.22亿元,同比增长19.54%,环比增长21.30%;归母净利润2.73亿元,同比增长54.75%,环比增长58.09%;扣非净利润2.48亿元,同比增长48.85%,环比增长52.76%。

资料显示,公司是浙能集团所属的专业从事风电、光伏、水电、氢能、储能等可再生能源业务方向的投资、开发、建设、运营、管理的综合型能源企业。
2024年上半年,公司毛利率为51.58%,同比下降1.11个百分点;净利率为23.76%,较上年同期上升2.11个百分点。从单季度指标来看,2024年第二季度公司毛利率为54.21%,同比下降0.82个百分点,环比上升5.82个百分点;净利率为26.42%,较上年同期上升1.96个百分点,较上一季度上升5.89个百分点。

盈利能力方面, 2024年半年度公司加权平均净资产收益率为3.62%,同比上升0.57个百分点。公司2024年上半年投入资本回报率为2.17%,较上年同期下降0.01个百分点。

2024年上半年,公司经营活动现金流净额为9.19亿元,同比增长3.21%;筹资活动现金流净额-1.43亿元,同比减少25.86亿元;投资活动现金流净额-7.55亿元,上年同期为-23.94亿元。
进一步统计发现,2024年上半年公司自由现金流为11.77亿元,上年同期为-7.08亿元。

2024年上半年,公司营业收入现金比为65.19%,净现比为206.01%。

营运能力方面,2024年上半年,公司公司总资产周转率为0.05次,上年同期为0.05次(2023年上半年行业平均值为0.08次,公司位居同行业13/14);固定资产周转率为0.08次,上年同期为0.08次(2023年上半年行业平均值为0.27次,公司位居同行业14/14);公司应收账款周转率、存货周转率分别为0.32次、134.21次。

2024年上半年,公司期间费用为5.93亿元,较上年同期减少1842.94万元;期间费用率为22.84%,较上年同期下降4.49个百分点。其中,管理费用同比增长14.73%,研发费用同比下降69.42%,财务费用同比下降6.07%。
资料显示,研发费用的变动主要因为本期开展研发活动减少。

资产重大变化方面,截至2024年上半年末,公司在建工程较上年末减少39.97%,占公司总资产比重下降2.76个百分点;固定资产较上年末增加7.52%,占公司总资产比重上升1.81个百分点;应收账款较上年末增加15.50%,占公司总资产比重上升1.50个百分点;其他流动资产较上年末减少29.06%,占公司总资产比重下降0.51个百分点。

负债重大变化方面,截至2024年上半年末,公司长期借款较上年末增加6.89%,占公司总资产比重上升1.02个百分点;应付账款较上年末增加24.53%,占公司总资产比重上升0.62个百分点;一年内到期的非流动负债较上年末减少9.37%,占公司总资产比重下降0.97个百分点;应交税费较上年末增加51.06%,占公司总资产比重上升0.16个百分点。

从存货变动来看,截至2024年上半年末,公司存货账面价值为1019.95万元,占净资产的0.08%。根据财报,公司本期没有计提存货跌价准备。

在偿债能力方面,公司2024年上半年末资产负债率为65.96%,相比上年末上升0.50个百分点;有息资产负债率为53.47%,相比上年末下降0.14个百分点。

2024年上半年,公司流动比率为1.39,速动比率为1.39。

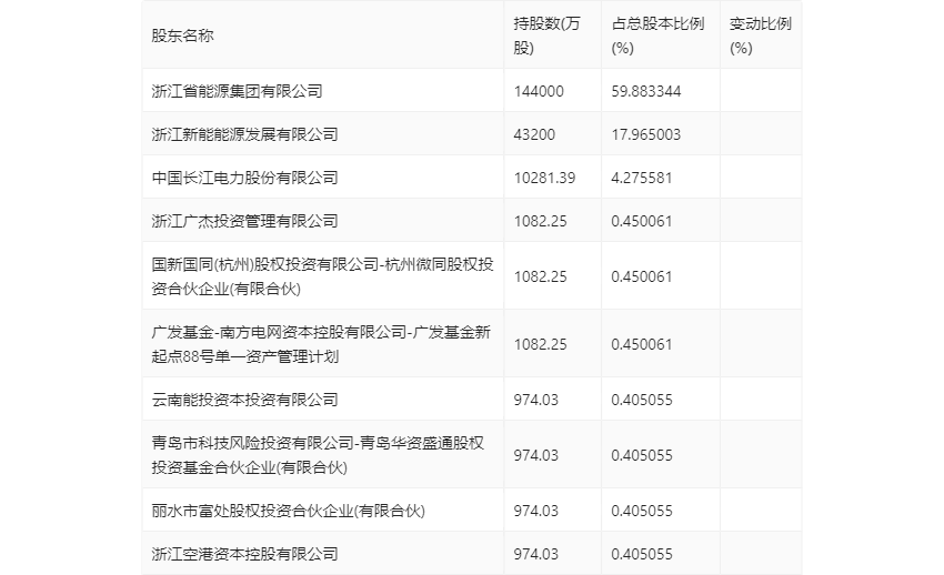
半年报显示,2024年上半年末公司十大流通股东中,新进股东为浙江省能源集团有限公司、浙江新能能源发展有限公司、广发基金-南方电网资本控股有限公司-广发基金新起点88号单一资产管理计划,取代了一季度末的金鹰基金-南方电网资本控股有限公司-金鹰优选88号单一资产管理计划、中国国际金融股份有限公司、香港中央结算有限公司。

筹码集中度方面,截至2024年上半年末,公司股东总户数为5.41万户,较一季度末下降了1209户,降幅2.19%;户均持股市值由一季度末的31.46万元上升至32.38万元,增幅为2.92%。

指标注解:
市盈率
=总市值/净利润。当公司亏损时市盈率为负,此时用市盈率估值没有实际意义,往往用市净率或市销率做参考。
市净率
=总市值/净资产。市净率估值法多用于盈利波动较大而净资产相对稳定的公司。
市销率
=总市值/营业收入。市销率估值法通常用于亏损或微利的成长型公司。
文中市盈率和市销率采用TTM方式,即以截至最近一期财报(含预报)12个月的数据计算。市净率采用LF方式,即以最近一期财报数据计算。
市盈率为负时,不显示当期分位数,会导致折线图中断。