保利发展:2024年第一季度净利润22.24亿元 同比下降18.28%

中证智能财讯 保利发展(600048)4月30日披露2024年第一季度报告。公司实现营业收入497.48亿元,同比增长24.51%;归母净利润22.24亿元,同比下降18.28%;扣非净利润21.16亿元,同比下降20.34%;经营活动产生的现金流量净额为-333.06亿元,上年同期为-141.62亿元;报告期内,保利发展基本每股收益为0.19元,加权平均净资产收益率为1.12%。


2024年第一季度,公司毛利率为18.64%,同比下降3.23个百分点;净利率为8.01%,较上年同期下降1.91个百分点。

数据显示,2024年第一季度公司加权平均净资产收益率为1.12%,较上年同期下降0.26个百分点;公司2024年第一季度投入资本回报率为0.62%,较上年同期基本持平。

2024年第一季度,公司经营活动现金流净额为-333.06亿元,同比减少191.43亿元;筹资活动现金流净额158.99亿元,同比增加254.06亿元;投资活动现金流净额-10.29亿元,上年同期为-8.69亿元。

2024年第一季度,公司营业收入现金比为146.95%,净现比为-1497.83%。

资产重大变化方面,截至2024年一季度末,公司货币资金较上年末减少12.45%,占公司总资产比重下降1.20个百分点;存货较上年末增加0.27%,占公司总资产比重上升0.70个百分点;其他应收款(含利息和股利)较上年末增加3.38%,占公司总资产比重上升0.45个百分点;其他流动资产较上年末减少5.36%,占公司总资产比重下降0.24个百分点。

负债重大变化方面,截至2024年一季度末,公司应付账款较上年末减少15.69%,占公司总资产比重下降1.80个百分点;长期借款较上年末增加7.59%,占公司总资产比重上升1.40个百分点;一年内到期的非流动负债较上年末减少13.82%,占公司总资产比重下降0.62个百分点;应交税费较上年末减少26.82%,占公司总资产比重下降0.44个百分点。

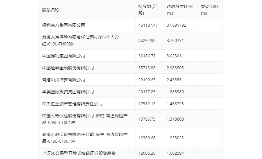
一季报显示,2024年一季度末公司十大流通股东中,新进股东为上证50交易型开放式指数证券投资基金,取代了上年末的兴全趋势投资混合型证券投资基金。在具体持股比例上,中国保利集团有限公司、香港中央结算有限公司、中国人寿保险股份有限公司-传统-普通保险产品-005L-CT001沪持股有所上升,华美国际投资集团有限公司持股有所下降。

筹码集中度方面,截至2024年一季度末,公司股东总户数为18.81万户,较上年末增长了3300户,增幅1.79%;户均持股市值由上年末的64.12万元下降至58.09万元,降幅为9.40%。
