同方股份:2023年亏损7.65亿元

中证智能财讯 同方股份(600100)4月27日披露2023年年报。2023年,公司实现营业总收入288.33亿元,同比增长21.35%;归母净利润亏损7.65亿元,上年同期亏损7.72亿元;扣非净利润亏损10.32亿元,上年同期亏损10.53亿元;经营活动产生的现金流量净额为1.45亿元,同比增长203.86%;报告期内,同方股份基本每股收益为-0.2283元,加权平均净资产收益率为-5.24%。


以4月26日收盘价计算,同方股份目前市盈率(TTM)约为-26.89倍,市净率(LF)约为1.44倍,市销率(TTM)约为0.71倍。

公司近年市盈率(TTM)、市净率(LF)、市销率(TTM)历史分位图如下所示:



数据统计显示,同方股份近三年营业总收入复合增长率为3.63%,在其他计算机设备行业已披露2023年数据的53家公司中排名第26。近三年净利润复合年增长率为-295.41%,排名50/53。

资料显示,公司主营业务归属于信息产业和节能环保产业,涉及数字信息、民用核技术、节能环保等产业领域。
分产品来看,2023年公司主营业务中,数字信息收入162.24亿元,同比增长46.66%,占营业收入的56.27%;核技术应用收入56.64亿元,同比增长10.75%,占营业收入的19.64%;智慧能源收入56.31亿元,同比下降0.68%,占营业收入的19.53%。

2023年,公司毛利率为17.76%,同比下降2.85个百分点;净利率为-2.60%,较上年同期上升0.19个百分点。从单季度指标来看,2023年第四季度公司毛利率为19.58%,同比下降3.49个百分点,环比上升3.60个百分点;净利率为-0.76%,较上年同期下降3.35个百分点,较上一季度上升8.54个百分点。

分产品看,数字信息、核技术应用、智慧能源2023年毛利率分别为12.13%、35.55%、14.64%。
报告期内,公司前五大客户合计销售金额52.82亿元,占总销售金额比例为18.36%,公司前五名供应商合计采购金额80.69亿元,占年度采购总额比例为34.10%。

数据显示,2023年公司加权平均净资产收益率为-5.24%,较上年同期下降0.23个百分点;公司2023年投入资本回报率为-0.27%,较上年同期下降0.85个百分点。

2023年,公司经营活动现金流净额为1.45亿元,同比增长203.86%;筹资活动现金流净额-7.78亿元,同比增加68.47亿元;投资活动现金流净额9.49亿元,上年同期为30.16亿元。
进一步统计发现,2023年公司自由现金流为4.47亿元,上年同期为-9.58亿元。

2023年,公司营业收入现金比为104.51%,净现比为-18.97%。

营运能力方面,2023年,公司公司总资产周转率为0.53次,上年同期为0.41次(2022年行业平均值为0.40次,公司位居同行业30/62);公司应收账款周转率、存货周转率分别为4.51次、2.76次。

2023年,公司期间费用为51.30亿元,较上年同期减少8240.07万元;期间费用率为17.79%,较上年同期下降4.15个百分点。其中,销售费用同比下降0.95%,管理费用同比增长8.3%,研发费用同比下降0.28%,财务费用同比下降21.02%。

资产重大变化方面,截至2023年年末,公司存货较上年末减少18.57%,占公司总资产比重下降3.50个百分点;货币资金较上年末减少11.85%,占公司总资产比重下降1.68个百分点;固定资产较上年末减少17.49%,占公司总资产比重下降1.31个百分点;长期股权投资较上年末减少3.11%,占公司总资产比重下降1.23个百分点。

负债重大变化方面,截至2023年年末,公司长期借款较上年末增加238.67%,占公司总资产比重上升8.05个百分点;一年内到期的非流动负债较上年末减少79.86%,占公司总资产比重下降6.27个百分点;短期借款较上年末减少27.32%,占公司总资产比重下降6.47个百分点;合同负债较上年末减少10.71%,占公司总资产比重下降0.78个百分点。


2023年全年,公司研发投入金额为15.01亿元,同比下降6.04%;研发投入占营业收入比例为5.21%,相比上年同期下降1.51个百分点。此外,公司全年研发投入资本化率为37.62%。


在偿债能力方面,公司2023年年末资产负债率为65.05%,相比上年末上升1.93个百分点;有息资产负债率为30.68%,相比上年末下降3.25个百分点。

2023年,公司流动比率为1.13,速动比率为0.85。

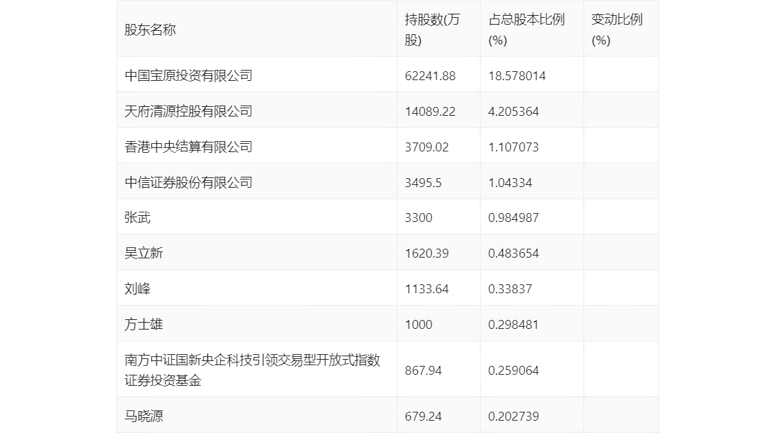
年报显示,2023年年末公司十大流通股东中,新进股东为中国宝原投资有限公司、南方中证国新央企科技引领交易型开放式指数证券投资基金、马晓源,取代了三季度末的中国核工业集团资本控股有限公司、紫光集团有限公司、徐开东。在具体持股比例上,香港中央结算有限公司、中信证券股份有限公司、张武持股有所上升,吴立新、方士雄持股有所下降。

筹码集中度方面,截至2023年年末,公司股东总户数为21.84万户,较三季度末增长了3077户,增幅1.43%;户均持股市值由三季度末的11.31万元下降至11.27万元,降幅为0.35%。

指标注解:
市盈率
=总市值/净利润。当公司亏损时市盈率为负,此时用市盈率估值没有实际意义,往往用市净率或市销率做参考。
市净率
=总市值/净资产。市净率估值法多用于盈利波动较大而净资产相对稳定的公司。
市销率
=总市值/营业收入。市销率估值法通常用于亏损或微利的成长型公司。
文中市盈率和市销率采用TTM方式,即以截至最近一期财报(含预报)12个月的数据计算。市净率采用LF方式,即以最近一期财报数据计算。
市盈率为负时,不显示当期分位数,会导致折线图中断。