国金证券:2023年净利17.18亿元 同比增长43.41% 拟10派1.4元

中证智能财讯 国金证券(600109)4月25日披露2023年年报。2023年,公司实现营业总收入67.30亿元,同比增长17.39%;归母净利润17.18亿元,同比增长43.41%;扣非净利润16.51亿元,同比增长45.90%;经营活动产生的现金流量净额为-56.25亿元,上年同期为66.63亿元;报告期内,国金证券基本每股收益为0.462元,加权平均净资产收益率为5.39%。公司2023年年度利润分配预案为:拟向全体股东每10股派1.4元(含税)。



以4月24日收盘价计算,国金证券目前市盈率(TTM)约为18.19倍,市净率(LF)约为0.96倍,市销率(TTM)约为4.64倍。

公司近年市盈率(TTM)、市净率(LF)、市销率(TTM)历史分位图如下所示:



数据统计显示,国金证券近三年营业总收入复合增长率为3.54%,在证券Ⅲ行业已披露2023年数据的36家公司中排名第11。近三年净利润复合年增长率为-2.65%,排名20/36。

分产品来看,2023年公司主营业务中,手续费及佣金净收入收入37.37亿元,同比下降5.74%,占营业收入的55.53%;投资收益收入13.47亿元,同比增长1.64%,占营业收入的20.02%;利息净收入收入12.12亿元,同比下降13.50%,占营业收入的18.01%。

数据显示,2023年公司加权平均净资产收益率为5.39%,较上年同期上升1.22个百分点。

2023年,公司经营活动现金流净额为-56.25亿元,同比减少122.89亿元;筹资活动现金流净额73.22亿元,同比增加61.24亿元;投资活动现金流净额6.22亿元,上年同期为-37.05亿元。

2023年,公司营业收入现金比为231.21%,净现比为-327.34%。

资产重大变化方面,截至2023年年末,公司融出资金较上年末增加29.39%,占公司总资产比重上升2.43个百分点;买入返售金融资产较上年末减少0.39%,占公司总资产比重下降1.73个百分点;货币资金较上年末增加7.14%,占公司总资产比重下降1.48个百分点;交易性金融资产较上年末增加19.75%,占公司总资产比重上升1.39个百分点。

负债重大变化方面,截至2023年年末,公司应付短期融资款较上年末增加61.00%,占公司总资产比重上升4.16个百分点;拆入资金较上年末增加823.62%,占公司总资产比重上升3.46个百分点;交易性金融负债合计较上年末减少68.80%,占公司总资产比重下降3.40个百分点;代理买卖证券款较上年末增加11.62%,占公司总资产比重下降0.55个百分点。

2023年全年,公司研发投入金额为1.28亿元,同比下降8.18%;研发投入占营业收入比例为1.89%,相比上年同期下降0.53个百分点。此外,公司全年研发投入资本化率为0。


在偿债能力方面,公司2023年年末资产负债率为71.98%,相比上年末上升2.64个百分点;有息资产负债率为9.68%,相比上年末上升0.67个百分点。

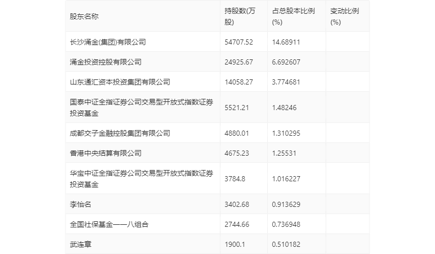
年报显示,2023年年末公司十大流通股东中,新进股东为武连章,取代了三季度末的中证500交易型开放式指数证券投资基金。在具体持股比例上,国泰中证全指证券公司交易型开放式指数证券投资基金、华宝中证全指证券公司交易型开放式指数证券投资基金持股有所上升,香港中央结算有限公司、李怡名持股有所下降。

筹码集中度方面,截至2023年年末,公司股东总户数为15.02万户,较三季度末增长了89户,增幅0.06%;户均持股市值由三季度末的23.05万元下降至22.51万元,降幅为2.34%。

指标注解:
市盈率
=总市值/净利润。当公司亏损时市盈率为负,此时用市盈率估值没有实际意义,往往用市净率或市销率做参考。
市净率
=总市值/净资产。市净率估值法多用于盈利波动较大而净资产相对稳定的公司。
市销率
=总市值/营业收入。市销率估值法通常用于亏损或微利的成长型公司。
文中市盈率和市销率采用TTM方式,即以截至最近一期财报(含预报)12个月的数据计算。市净率采用LF方式,即以最近一期财报数据计算。
市盈率为负时,不显示当期分位数,会导致折线图中断。