国网信通:2024年第一季度净利润1210.25万元 同比下降83.22%

中证智能财讯 国网信通(600131)4月26日披露2024年一季报。2024年第一季度,公司实现营业总收入10.19亿元,同比下降22.98%;归母净利润1210.25万元,同比下降83.22%;扣非净利润1198.24万元,同比下降75.16%;经营活动产生的现金流量净额为-9792.14万元,上年同期为-6.14亿元;报告期内,国网信通基本每股收益为0.01元,加权平均净资产收益率为0.19%。

2024年第一季度,公司毛利率为17.76%,同比下降0.18个百分点;净利率为1.19%,较上年同期下降4.26个百分点。

数据显示,2024年第一季度公司加权平均净资产收益率为0.19%,较上年同期下降1.06个百分点;公司2024年第一季度投入资本回报率为0.11%,较上年同期下降1.02个百分点。

2024年第一季度,公司经营活动现金流净额为-9792.14万元,同比增加5.16亿元;筹资活动现金流净额-5783.88万元,同比减少463.58万元;投资活动现金流净额-45.48万元,上年同期为-2162.49万元。

2024年第一季度,公司营业收入现金比为182.62%,净现比为-809.10%。

资产重大变化方面,截至2024年一季度末,公司应收账款较上年末减少14.19%,占公司总资产比重下降5.32个百分点;存货较上年末增加191.76%,占公司总资产比重上升2.27个百分点;预付款项较上年末增加79.15%,占公司总资产比重上升1.05个百分点;合同资产较上年末增加16.29%,占公司总资产比重上升0.94个百分点。

负债重大变化方面,截至2024年一季度末,公司应付账款较上年末减少9.21%,占公司总资产比重下降2.32个百分点;应交税费较上年末减少46.64%,占公司总资产比重下降0.65个百分点;合同负债较上年末减少35.52%,占公司总资产比重下降0.57个百分点;应付票据较上年末增加15.38%,占公司总资产比重上升0.70个百分点。

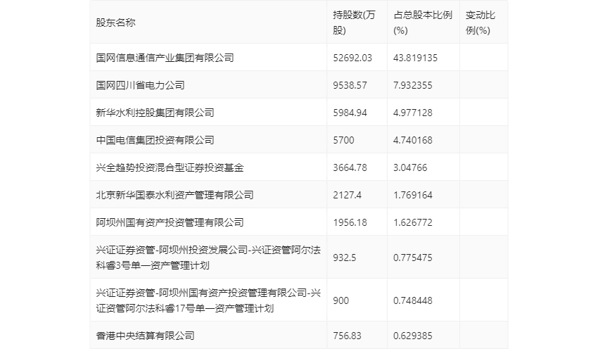
一季报显示,2024年一季度末公司十大流通股东中,新进股东为香港中央结算有限公司,取代了上年末的易方达环保主题灵活配置混合型证券投资基金。在具体持股比例上,北京新华国泰水利资产管理有限公司持股有所上升,兴全趋势投资混合型证券投资基金、兴证证券资管-阿坝州投资发展公司-兴证资管阿尔法科睿3号单一资产管理计划持股有所下降。

筹码集中度方面,截至2024年一季度末,公司股东总户数为2.67万户,较上年末下降了3588户,降幅11.86%;户均持股市值由上年末的60.24万元上升至85.04万元,增幅为41.17%。
