国网信通:2024年上半年净利润2.32亿元 同比下降6.95%

中证智能财讯 国网信通(600131)8月27日披露2024年半年报。2024年上半年,公司实现营业总收入26.82亿元,同比下降5.09%;归母净利润2.32亿元,同比下降6.95%;扣非净利润2.32亿元,同比增长9.82%;经营活动产生的现金流量净额为-2.47亿元,上年同期为-6.54亿元;报告期内,国网信通基本每股收益为0.19元,加权平均净资产收益率为3.60%。



以8月26日收盘价计算,国网信通目前市盈率(TTM)约为25.46倍,市净率(LF)约为3.27倍,市销率(TTM)约为2.74倍。

公司近年市盈率(TTM)、市净率(LF)、市销率(TTM)历史分位图如下所示:



根据半年报,公司第二季度实现营业总收入16.63亿元,同比增长10.66%,环比增长63.28%;归母净利润2.2亿元,同比增长24.01%,环比增长1720.20%;扣非净利润2.2亿元,同比增长34.98%,环比增长1735.81%。

资料显示,公司主要包括云网基础设施、企业通用数字化应用、电力数字化应用三大板块业务。
2024年上半年,公司毛利率为20.01%,同比上升1.26个百分点;净利率为8.67%,较上年同期下降0.17个百分点。从单季度指标来看,2024年第二季度公司毛利率为21.39%,同比上升1.93个百分点,环比上升3.63个百分点;净利率为13.24%,较上年同期上升1.42个百分点,较上一季度上升12.05个百分点。

数据显示,2024年上半年公司加权平均净资产收益率为3.60%,较上年同期下降0.69个百分点;公司2024年上半年投入资本回报率为3.27%,较上年同期下降0.76个百分点。

2024年上半年,公司经营活动现金流净额为-2.47亿元,同比增加4.07亿元;筹资活动现金流净额-7577.77万元,同比减少2660.96万元;投资活动现金流净额3994.84万元,上年同期为1361.71万元。
进一步统计发现,2024年上半年公司自由现金流为2087.12万元,上年同期为-31618.07万元。

2024年上半年,公司营业收入现金比为136.08%,净现比为-106.45%。

营运能力方面,2024年上半年,公司公司总资产周转率为0.20次,上年同期为0.23次(2023年上半年行业平均值为0.19次,公司位居同行业45/131);固定资产周转率为3.71次,上年同期为5.32次(2023年上半年行业平均值为4.24次,公司位居同行业48/131);公司应收账款周转率、存货周转率分别为0.43次、6.82次。

2024年上半年,公司期间费用为3.84亿元,较上年同期增加3240.95万元;期间费用率为14.33%,较上年同期上升1.88个百分点。其中,销售费用同比增长23.46%,管理费用同比增长0.18%,研发费用同比增长11.32%,财务费用由去年同期的-807.35万元变为-977.44万元。

资产重大变化方面,截至2024年上半年末,公司应收账款较上年末减少14.44%,占公司总资产比重下降5.47个百分点;存货较上年末增加216.64%,占公司总资产比重上升2.56个百分点;合同资产较上年末增加43.14%,占公司总资产比重上升2.18个百分点;在建工程较上年末减少95.35%,占公司总资产比重下降1.86个百分点。

负债重大变化方面,截至2024年上半年末,公司应付账款较上年末减少15.73%,占公司总资产比重下降5.24个百分点;其他应付款(含利息和股利)较上年末增加144.89%,占公司总资产比重上升1.89个百分点;应付票据较上年末增加38.31%,占公司总资产比重上升1.52个百分点;租赁负债较上年末增加523.21%,占公司总资产比重上升0.71个百分点。

从存货变动来看,截至2024年上半年末,公司存货账面价值为0.0元,占净资产的0.0%。其中,存货跌价准备为4.78亿元,计提比例为100.0%。

在偿债能力方面,公司2024年上半年末资产负债率为51.56%,相比上年末下降1.79个百分点;有息资产负债率为0.98%,相比上年末上升0.15个百分点。

2024年上半年,公司流动比率为1.58,速动比率为1.51。

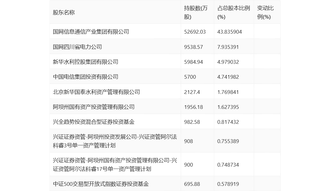
半年报显示,2024年上半年末公司十大流通股东中,新进股东为中证500交易型开放式指数证券投资基金,取代了一季度末的香港中央结算有限公司。在具体持股比例上,国网信息通信产业集团有限公司、国网四川省电力公司、新华水利控股集团有限公司、中国电信集团投资有限公司、北京新华国泰水利资产管理有限公司、阿坝州国有资产投资管理有限公司、兴证证券资管-阿坝州国有资产投资管理有限公司-兴证资管阿尔法科睿17号单一资产管理计划持股有所上升,兴全趋势投资混合型证券投资基金、兴证证券资管-阿坝州投资发展公司-兴证资管阿尔法科睿3号单一资产管理计划持股有所下降。

筹码集中度方面,截至2024年上半年末,公司股东总户数为3.62万户,较一季度末增长了9534户,增幅35.77%;户均持股市值由一季度末的85.04万元下降至56.04万元,降幅为34.10%。

指标注解:
市盈率
=总市值/净利润。当公司亏损时市盈率为负,此时用市盈率估值没有实际意义,往往用市净率或市销率做参考。
市净率
=总市值/净资产。市净率估值法多用于盈利波动较大而净资产相对稳定的公司。
市销率
=总市值/营业收入。市销率估值法通常用于亏损或微利的成长型公司。
文中市盈率和市销率采用TTM方式,即以截至最近一期财报(含预报)12个月的数据计算。市净率采用LF方式,即以最近一期财报数据计算。
市盈率为负时,不显示当期分位数,会导致折线图中断。