ST明诚:2024年上半年亏损2164.29万元

中证智能财讯 ST明诚(600136)8月31日披露2024年半年度报告。2024年上半年,公司实现营业收入4011.13万元,同比下降88.64%;归母净利润亏损2164.29万元,上年同期亏损19.13亿元;扣非净利润亏损1480.63万元,上年同期亏损42.7亿元;经营活动产生的现金流量净额为-3441.6万元,上年同期为1970.69万元;报告期内,ST明诚基本每股收益为-0.01元,加权平均净资产收益率为-5.96%。
公告称,公司营业收入变化主要由于影视行业具有周期性,同时体育板块剥离。
报告期内,公司合计非经常性损益为-683.67万元,其中计入当期损益的政府补助为176.8万元,少数股东权益影响额(税后)为-92.45万元。


以8月30日收盘价计算,ST明诚目前市盈率(TTM)约为0.59倍,市净率(LF)约为7.94倍,市销率(TTM)约为32.18倍。

公司近年市盈率(TTM)、市净率(LF)、市销率(TTM)历史分位图如下所示:



根据半年报,公司第二季度实现营业总收入2925.84万元,同比下降87.02%,环比增长169.59%;归母净利润-2089.91万元,同比增长98.78%,环比下降2709.50%;扣非净利润-1369.94万元,同比增长99.66%,环比下降1137.72%。

2024年上半年,公司毛利率为10.52%,同比上升3.81个百分点;净利率为-84.28%,较上年同期上升464.88个百分点。从单季度指标来看,2024年第二季度公司毛利率为-0.69%,同比上升3.17个百分点,环比下降41.43个百分点;净利率为-115.57%,较上年同期上升656.12个百分点,较上一季度下降115.64个百分点。

2024年上半年,公司经营活动现金流净额为-3441.6万元,同比减少5412.28万元;筹资活动现金流净额0元,同比增加77.57万元;投资活动现金流净额-358.12万元,上年同期为-4449.82万元。
进一步统计发现,2024年上半年公司自由现金流为-2832.67万元,上年同期为-110624.69万元。

2024年上半年,公司营业收入现金比为160.01%。

营运能力方面,2024年上半年,公司总资产周转率为0.07次,上年同期为0.13次(2023年上半年行业平均值为0.17次,公司位居同行业54/80);固定资产周转率为7.39次,上年同期为61.74次(2023年上半年行业平均值为1.59次,公司位居同行业3/80);公司应收账款周转率、存货周转率分别为1.80次、2.16次。

2024年上半年,公司期间费用为3108.79万元,较上年同期减少1.64亿元;但期间费用率为77.50%,较上年同期上升22.20个百分点。其中,销售费用同比下降75.32%,管理费用同比下降51.05%,财务费用同比下降99.81%。
资料显示,销售费用的变动主要因为体育板块剥离和破产重整对低效资产剥离;管理费用的变动主要因为体育板块剥离和破产重整对低效资产剥离;财务费用的变动主要因为去年同期未完成破产重整,相关负债在去年期间确认利息;研发费用的变动主要因为本年无此类业务。

资产重大变化方面,截至2024年上半年末,公司货币资金较上年末减少22.39%,占公司总资产比重下降5.34个百分点;长期待摊费用较上年末增加5739.78%,占公司总资产比重上升2.05个百分点;其他应收款(含利息和股利)较上年末减少8.97%,占公司总资产比重下降1.83个百分点;固定资产较上年末增加915.86%,占公司总资产比重上升1.63个百分点。

负债重大变化方面,截至2024年上半年末,公司其他应付款(含利息和股利)较上年末减少28.67%,占公司总资产比重下降4.32个百分点;应付账款较上年末增加51.15%,占公司总资产比重上升3.83个百分点,主要系本期采购数字电影设备;合同负债较上年末增加1062.92%,占公司总资产比重上升1.64个百分点,主要系本期业务增加且具有周期性;递延所得税负债较上年末减少47.39%,占公司总资产比重下降0.37个百分点。

从存货变动来看,截至2024年上半年末,公司存货账面价值为1502.94万元,占净资产的4.27%,较上年末减少317.37万元。其中,存货跌价准备为4854.69万元,计提比例为76.36%。

在偿债能力方面,公司2024年上半年末资产负债率为34.25%,相比上年末上升1.87个百分点;有息资产负债率为0.39%,相比上年末上升0.02个百分点。

2024年上半年,公司流动比率为2.64,速动比率为2.55。

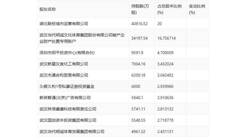
半年报显示,2024年上半年末公司十大流通股东中,新进股东为武汉市通合利贸易有限公司、新英智通(北京)广告有限公司,取代了一季度末的武汉当代科技产业集团股份有限公司、武汉市固茂贸易有限公司。在具体持股比例上,武汉当代明诚文化体育集团股份有限公司破产企业财产处置专用账户持股有所下降。

筹码集中度方面,截至2024年上半年末,公司股东总户数为1.63万户,较一季度末下降了1467户,降幅8.27%;户均持股市值由一季度末的19.21万元下降至18.93万元,降幅为1.46%。

指标注解:
市盈率
=总市值/净利润。当公司亏损时市盈率为负,此时用市盈率估值没有实际意义,往往用市净率或市销率做参考。
市净率
=总市值/净资产。市净率估值法多用于盈利波动较大而净资产相对稳定的公司。
市销率
=总市值/营业收入。市销率估值法通常用于亏损或微利的成长型公司。
文中市盈率和市销率采用TTM方式,即以截至最近一期财报(含预报)12个月的数据计算。市净率采用LF方式,即以最近一期财报数据计算。
市盈率为负时,不显示当期分位数,会导致折线图中断。