兖矿能源:2024年第一季度净利润37.57亿元 同比下降41.85%

中证智能财讯 兖矿能源(600188)4月27日披露2024年一季报。2024年第一季度,公司实现营业总收入396.33亿元,同比下降20.76%;归母净利润37.57亿元,同比下降41.85%;扣非净利润36.67亿元,同比下降36.40%;经营活动产生的现金流量净额为54.68亿元,同比增长0.45%;报告期内,兖矿能源基本每股收益为0.51元,加权平均净资产收益率为4.92%。


2024年第一季度,公司毛利率为29.36%,同比下降4.61个百分点;净利率为13.62%,较上年同期下降3.62个百分点。

数据显示,2024年第一季度公司加权平均净资产收益率为4.92%,较上年同期下降1.03个百分点;公司2024年第一季度投入资本回报率为2.80%,较上年同期下降0.52个百分点。

2024年第一季度,公司经营活动现金流净额为54.69亿元,同比增长0.45%;筹资活动现金流净额37.44亿元,同比增加34.32亿元,主要系发行其他权益工具收到的现金同比增加29.98亿元所致;投资活动现金流净额-39.28亿元,上年同期为-42.76亿元。

2024年第一季度,公司营业收入现金比为118.56%,净现比为139.57%。
资产重大变化方面,截至2024年一季度末,公司货币资金较上年末增加19.13%,占公司总资产比重上升1.77个百分点;固定资产较上年末减少3.06%,占公司总资产比重下降1.60个百分点;无形资产较上年末减少2.21%,占公司总资产比重下降0.80个百分点;预付款项较上年末增加43.20%,占公司总资产比重上升0.58个百分点。

负债重大变化方面,截至2024年一季度末,公司应付账款较上年末减少13.51%,占公司总资产比重下降0.84个百分点;长期借款较上年末增加3.02%,占公司总资产比重上升0.16个百分点;应付票据较上年末增加13.62%,占公司总资产比重上升0.38个百分点;其他应付款(含利息和股利)较上年末减少2.51%,占公司总资产比重下降0.68个百分点。

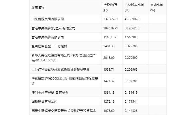
一季报显示,2024年一季度末公司十大流通股东中,新进股东为新华人寿保险股份有限公司-传统-普通保险产品-018L-CT001沪、国新投资有限公司、国泰中证煤炭交易型开放式指数证券投资基金,取代了上年末的华夏人寿保险股份有限公司-自有资金、银华富裕主题混合型证券投资基金、汇添富价值精选混合型证券投资基金。在具体持股比例上,香港中央结算(代理人)有限公司、香港中央结算有限公司、全国社保基金一一七组合、华泰柏瑞沪深300交易型开放式指数证券投资基金、澳门金融管理局-自有资金持股有所上升,山东能源集团有限公司、上证红利交易型开放式指数证券投资基金持股有所下降。
