西藏药业:2024年上半年净利润同比增长4.57% 拟10派9.67元

中证智能财讯 西藏药业(600211)8月14日披露2024年半年报。2024年上半年,公司实现营业总收入16.15亿元,同比下降11.29%;归母净利润6.23亿元,同比增长4.57%;扣非净利润5.24亿元,同比下降9.85%;经营活动产生的现金流量净额为5.95亿元,同比增长9.15%;报告期内,西藏药业基本每股收益为1.93元,加权平均净资产收益率为17.32%。公司2024年半年度利润分配预案为:拟向全体股东每10股派9.67元(含税)。


以8月13日收盘价计算,西藏药业目前市盈率(TTM)约为13.44倍,市净率(LF)约为2.93倍,市销率(TTM)约为3.8倍。

公司近年市盈率(TTM)、市净率(LF)、市销率(TTM)历史分位图如下所示:



根据半年报,公司第二季度实现营业总收入9.1亿元,同比下降0.31%,环比增长29.29%;归母净利润3.1亿元,同比增长5.98%,环比下降0.86%;扣非净利润2.89亿元,同比增长0.20%,环比增长22.90%。

资料显示,公司所处行业为医药制造业,主要生产、销售胶囊剂、生物制剂、颗粒剂、涂膜剂等。
分产品来看,2024年上半年公司主营业务中,药品销售收入16.11亿元,同比下降11.36%,占营业收入的99.77%。

2024年上半年,公司毛利率为95.70%,同比下降0.10个百分点;净利率为38.77%,较上年同期上升5.82个百分点。从单季度指标来看,2024年第二季度公司毛利率为96.36%,同比上升0.33个百分点,环比上升1.53个百分点;净利率为34.14%,较上年同期上升1.91个百分点,较上一季度下降10.62个百分点。

数据显示,2024年上半年公司加权平均净资产收益率为17.32%,较上年同期下降0.91个百分点;公司2024年上半年投入资本回报率为14.02%,较上年同期下降1.36个百分点。

2024年上半年,公司经营活动现金流净额为5.95亿元,同比增长9.15%;筹资活动现金流净额6133.63万元,同比增加1.08亿元;投资活动现金流净额-2.18亿元,上年同期为-5.23亿元。
进一步统计发现,2024年上半年公司自由现金流为-1500.45万元,上年同期为27948.93万元。

2024年上半年,公司营业收入现金比为118.78%,净现比为95.44%。

营运能力方面,2024年上半年,公司公司总资产周转率为0.33次,上年同期为0.41次(2023年上半年行业平均值为0.15次,公司位居同行业3/34);固定资产周转率为3.05次,上年同期为4.66次(2023年上半年行业平均值为1.27次,公司位居同行业3/34);公司应收账款周转率、存货周转率分别为2.49次、0.58次。

2024年上半年,公司期间费用为9.35亿元,较上年同期减少1.34亿元;期间费用率为57.92%,较上年同期下降0.85个百分点。其中,销售费用同比下降11.15%,管理费用同比下降0.82%,研发费用同比增长34.45%,财务费用由去年同期的-1319.98万元变为-3606.89万元。

资产重大变化方面,截至2024年上半年末,公司交易性金融资产较上年末增加115.61%,占公司总资产比重上升9.59个百分点;货币资金较上年末增加2.73%,占公司总资产比重下降4.73个百分点;应收账款较上年末减少0.48%,占公司总资产比重下降2.05个百分点;固定资产较上年末减少3.02%,占公司总资产比重下降1.95个百分点。

负债重大变化方面,截至2024年上半年末,公司短期借款较上年末增加49.28%,占公司总资产比重上升3.09个百分点;其他应付款(含利息和股利)较上年末增加9.25%,占公司总资产比重下降0.65个百分点;应付账款较上年末增加71.23%,占公司总资产比重上升0.40个百分点;应付职工薪酬较上年末减少56.88%,占公司总资产比重下降0.53个百分点。

在偿债能力方面,公司2024年上半年末资产负债率为28.31%,相比上年末上升1.85个百分点;有息资产负债率为14.01%,相比上年末上升3.09个百分点。

2024年上半年,公司流动比率为2.80,速动比率为2.71。

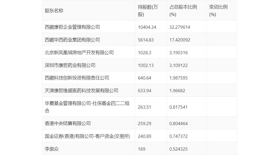
半年报显示,2024年上半年末公司十大流通股东中,新进股东为华夏基金管理有限公司-社保基金四二二组合,取代了一季度末的李志辉。在具体持股比例上,香港中央结算有限公司持股有所上升,西藏华西药业集团有限公司持股有所下降。

筹码集中度方面,截至2024年上半年末,公司股东总户数为4.54万户,较一季度末增长了3870户,增幅9.33%;户均持股市值由一季度末的26.41万元下降至23.15万元,降幅为12.34%。

指标注解:
市盈率
=总市值/净利润。当公司亏损时市盈率为负,此时用市盈率估值没有实际意义,往往用市净率或市销率做参考。
市净率
=总市值/净资产。市净率估值法多用于盈利波动较大而净资产相对稳定的公司。
市销率
=总市值/营业收入。市销率估值法通常用于亏损或微利的成长型公司。
文中市盈率和市销率采用TTM方式,即以截至最近一期财报(含预报)12个月的数据计算。市净率采用LF方式,即以最近一期财报数据计算。
市盈率为负时,不显示当期分位数,会导致折线图中断。