浙江医药:2024年上半年净利润3.15亿元 同比增长15.82%

中证智能财讯 浙江医药(600216)8月23日披露2024年半年报。2024年上半年,公司实现营业总收入44.05亿元,同比增长11.87%;归母净利润3.15亿元,同比增长15.82%;扣非净利润3.17亿元,同比增长32.56%;经营活动产生的现金流量净额为2.09亿元,同比下降17.06%;报告期内,浙江医药基本每股收益为0.33元,加权平均净资产收益率为3.22%。



以8月21日收盘价计算,浙江医药目前市盈率(TTM)约为31.29倍,市净率(LF)约为1.49倍,市销率(TTM)约为1.79倍。

公司近年市盈率(TTM)、市净率(LF)、市销率(TTM)历史分位图如下所示:



根据半年报,公司第二季度实现营业总收入21.56亿元,同比增长11.73%,环比下降4.13%;归母净利润2.06亿元,同比增长29.60%,环比增长87.58%;扣非净利润2.11亿元,同比增长49.62%,环比增长98.63%。

半年报称,报告期内公司主营业务未发生变化,主营业务为生命营养品、医药制造类产品及医药商业。
2024年上半年,公司毛利率为35.39%,同比上升1.55个百分点;净利率为5.80%,较上年同期上升1.05个百分点。从单季度指标来看,2024年第二季度公司毛利率为37.98%,同比上升4.04个百分点,环比上升5.06个百分点;净利率为8.16%,较上年同期上升2.83个百分点,较上一季度上升4.63个百分点。

数据显示,2024年上半年公司加权平均净资产收益率为3.22%,较上年同期增长0.34个百分点;公司2024年上半年投入资本回报率为2.38%,较上年同期增长0.59个百分点。

2024年上半年,公司经营活动现金流净额为2.09亿元,同比下降17.06%;筹资活动现金流净额-4480.36万元,同比减少8194.76万元;投资活动现金流净额-1.68亿元,上年同期为-2.42亿元。
进一步统计发现,2024年上半年公司自由现金流为8416.45万元,上年同期为-2918.50万元。

2024年上半年,公司营业收入现金比为98.20%,净现比为66.40%。

营运能力方面,2024年上半年,公司公司总资产周转率为0.34次,上年同期为0.31次(2023年上半年行业平均值为0.22次,公司位居同行业8/45);公司应收账款周转率、存货周转率分别为3.33次、1.45次。

2024年上半年,公司期间费用为11.28亿元,较上年同期增加6412.57万元;但期间费用率为25.61%,较上年同期下降1.41个百分点。其中,销售费用同比增长14.57%,管理费用同比增长11.54%,研发费用同比下降12.23%,财务费用由去年同期的-3347.10万元变为-794.19万元。

资产重大变化方面,截至2024年上半年末,公司在建工程较上年末增加30.00%,占公司总资产比重上升2.12个百分点;固定资产较上年末减少4.04%,占公司总资产比重下降1.89个百分点;其他应收款(含利息和股利)较上年末减少59.12%,占公司总资产比重下降1.11个百分点;应收账款较上年末增加11.45%,占公司总资产比重上升1.04个百分点。

负债重大变化方面,截至2024年上半年末,公司一年内到期的非流动负债较上年末减少61.84%,占公司总资产比重下降1.80个百分点;长期借款较上年末增加84.32%,占公司总资产比重上升1.50个百分点;应付职工薪酬较上年末减少42.37%,占公司总资产比重下降0.59个百分点;应付账款较上年末减少3.64%,占公司总资产比重下降0.39个百分点。

从存货变动来看,截至2024年上半年末,公司存货账面价值为19.07亿元,占净资产的19.17%,较上年末减少1.04亿元。其中,存货跌价准备为1.6亿元,计提比例为7.74%。

在偿债能力方面,公司2024年上半年末资产负债率为20.45%,相比上年末下降1.41个百分点;有息资产负债率为6.22%,相比上年末下降0.05个百分点。

2024年上半年,公司流动比率为2.66,速动比率为1.77。

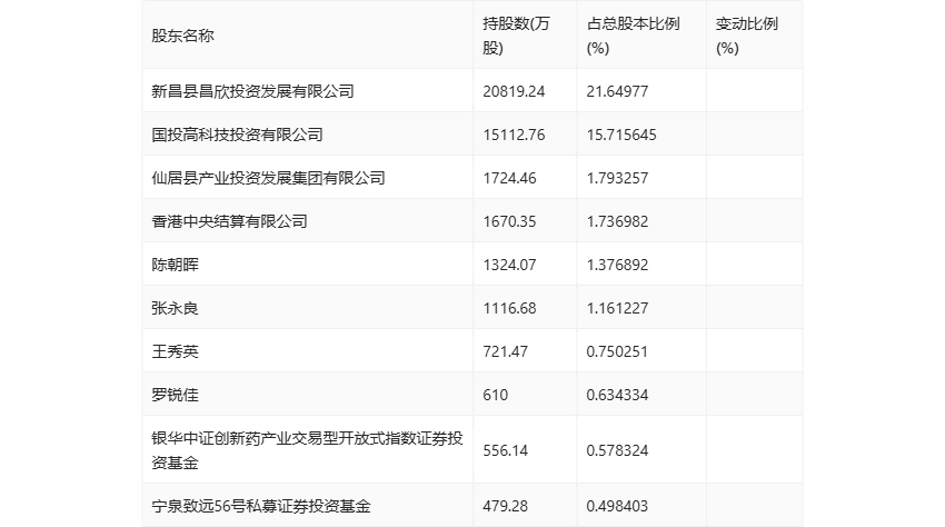
半年报显示,2024年上半年末公司十大流通股东中,新进股东为罗锐佳,取代了一季度末的宁泉致远59号私募证券投资基金。在具体持股比例上,新昌县昌欣投资发展有限公司、国投高科技投资有限公司、仙居县产业投资发展集团有限公司、陈朝晖、张永良、王秀英、宁泉致远56号私募证券投资基金持股有所上升,香港中央结算有限公司、银华中证创新药产业交易型开放式指数证券投资基金持股有所下降。

筹码集中度方面,截至2024年上半年末,公司股东总户数为6.55万户,较一季度末下降了133户,降幅0.20%;户均持股市值由一季度末的13.14万元上升至16.12万元,增幅为22.68%。

指标注解:
市盈率
=总市值/净利润。当公司亏损时市盈率为负,此时用市盈率估值没有实际意义,往往用市净率或市销率做参考。
市净率
=总市值/净资产。市净率估值法多用于盈利波动较大而净资产相对稳定的公司。
市销率
=总市值/营业收入。市销率估值法通常用于亏损或微利的成长型公司。
文中市盈率和市销率采用TTM方式,即以截至最近一期财报(含预报)12个月的数据计算。市净率采用LF方式,即以最近一期财报数据计算。
市盈率为负时,不显示当期分位数,会导致折线图中断。