全柴动力:2023年净利润同比下降6.04% 拟10派0.7元

中证智能财讯 全柴动力(600218)3月30日披露2023年年报。2023年,公司实现营业总收入48.19亿元,同比下降2.37%;归母净利润9722.10万元,同比下降6.04%;扣非净利润5048.41万元,同比增长29.29%;经营活动产生的现金流量净额为1.20亿元,同比下降69.25%;报告期内,全柴动力基本每股收益为0.22元,加权平均净资产收益率为3.11%。公司2023年年度利润分配预案为:拟向全体股东每10股派0.7元(含税)。
报告期内,公司合计非经常性损益为4673.69万元,其中除同公司正常经营业务相关的有效套期保值业务外,非金融企业持有金融资产和金融负债产生的公允价值变动损益以及处置金融资产和金融负债产生的损益为2627.79万元,非流动性资产处置损益,包括已计提资产减值准备的冲销部分为-222.05万元。

以3月29日收盘价计算,全柴动力目前市盈率(TTM)约为36.38倍,市净率(LF)约为1.12倍,市销率(TTM)约为0.73倍。

公司近年市盈率(TTM)、市净率(LF)、市销率(TTM)历史分位图如下所示:



数据统计显示,全柴动力近三年营业总收入复合增长率为2.65%,在底盘与发动机系统行业已披露2023年数据的19家公司中排名第10。近三年净利润复合年增长率为-17.39%,排名16/19。

分产品来看,2023年公司主营业务中,发动机收入46.67亿元,同比下降1.97%,占营业收入的96.85%;塑料管材收入0.63亿元,同比下降27.36%,占营业收入的1.30%;汽车收入0.34亿元,同比下降18.96%,占营业收入的0.71%。

截至2023年末,公司员工总数为2748人,人均创收175.37万元,人均创利3.54万元,人均薪酬13.87万元,较上年同期分别变化-1.20%、-4.91%、5.19%。

2023年,公司毛利率为10.63%,同比上升0.93个百分点;净利率为1.89%,较上年同期上升0.02个百分点。从单季度指标来看,2023年第四季度公司毛利率为16.02%,同比下降0.91个百分点,环比上升7.93个百分点;净利率为2.10%,较上年同期上升0.01个百分点,较上一季度上升1.09个百分点。

分产品看,发动机、塑料管材、汽车2023年毛利率分别为10.45%、7.24%、4.89%。

数据显示,2023年公司加权平均净资产收益率为3.11%,较上年同期下降0.26个百分点;公司2023年投入资本回报率为1.82%,较上年同期下降0.45个百分点。

2023年,公司经营活动现金流净额为1.20亿元,同比下降69.25%;筹资活动现金流净额-4034.96万元,同比增加1075.57万元;投资活动现金流净额-3.12亿元,上年同期为-2.76亿元。
进一步统计发现,2023年公司自由现金流为7426.25万元,相比上年同期下降48.97%。

2023年,公司营业收入现金比为86.43%,净现比为123.52%。

营运能力方面,2023年,公司公司总资产周转率为0.83次,上年同期为0.85次(2022年行业平均值为0.56次,公司位居同行业9/98);固定资产周转率为4.80次,上年同期为5.78次(2022年行业平均值为2.48次,公司位居同行业9/98);公司应收账款周转率、存货周转率分别为11.02次、4.86次。

2023年,公司期间费用为4.11亿元,较上年同期增加4747.84万元;期间费用率为8.53%,较上年同期上升1.16个百分点。其中,销售费用同比增长34.92%,管理费用同比增长2.03%,研发费用同比增长8.2%,财务费用由去年同期的-2260.02万元变为-2249.66万元。

资产重大变化方面,截至2023年年末,公司应收款项融资较上年末减少28.58%,占公司总资产比重下降6.03个百分点;货币资金较上年末减少21.52%,占公司总资产比重下降5.38个百分点;在建工程较上年末减少98.91%,占公司总资产比重下降5.28个百分点;固定资产较上年末增加36.39%,占公司总资产比重上升3.93个百分点。

负债重大变化方面,截至2023年年末,公司其他流动负债较上年末增加22088.15%,占公司总资产比重上升4.20个百分点;应付账款较上年末增加11.85%,占公司总资产比重上升0.97个百分点;应付票据较上年末减少8.42%,占公司总资产比重下降1.17个百分点;其他应付款(含利息和股利)较上年末减少59.66%,占公司总资产比重下降0.54个百分点。

从存货变动来看,截至2023年年末,公司存货账面价值为10.02亿元,占净资产的31.69%,较上年末增加2.3亿元。其中,存货跌价准备为6830.35万元,计提比例为6.38%。

2023年全年,公司研发投入金额为1.88亿元,同比增长8.20%;研发投入占营业收入比例为3.91%,相比上年同期上升0.38个百分点。此外,公司全年研发投入资本化率为0。


在偿债能力方面,公司2023年年末资产负债率为47.27%,相比上年末上升3.41个百分点;有息资产负债率为0.03%,相比上年末上升0.01个百分点。

2023年,公司流动比率为1.66,速动比率为1.29。

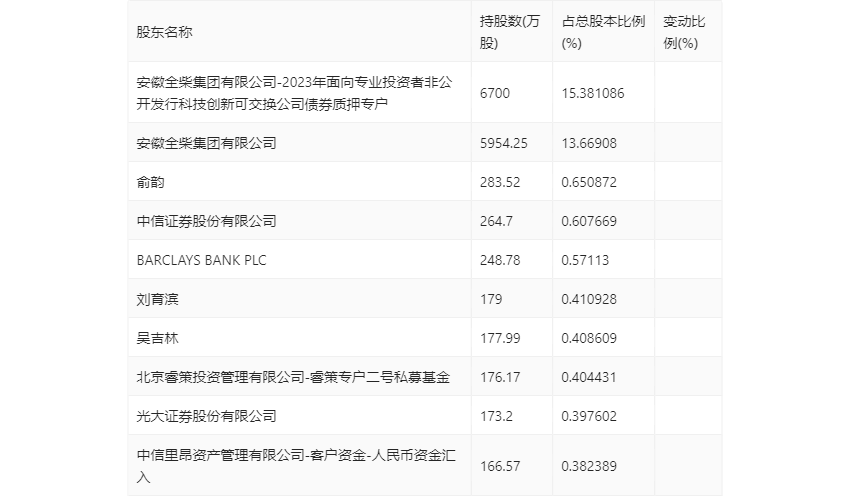
年报显示,2023年年末公司十大流通股东中,新进股东为安徽全柴集团有限公司-2023年面向专业投资者非公开发行科技创新可交换公司债券质押专户、中信证券股份有限公司、BARCLAYS BANK PLC、北京睿策投资管理有限公司-睿策专户二号私募基金、光大证券股份有限公司、中信里昂资产管理有限公司-客户资金-人民币资金汇入,取代了三季度末的光大保德信量化核心证券投资基金、徐开东、陈国谦、国金量化多因子股票型证券投资基金、胡玉枚、国泰君安量化选股混合型发起式证券投资基金。在具体持股比例上,吴吉林持股有所上升,安徽全柴集团有限公司持股有所下降。

筹码集中度方面,截至2023年年末,公司股东总户数为5.05万户,较三季度末增长了485户,增幅0.97%;户均持股市值由三季度末的7.44万元上升至8.25万元,增幅为10.89%。

指标注解:
市盈率
=总市值/净利润。当公司亏损时市盈率为负,此时用市盈率估值没有实际意义,往往用市净率或市销率做参考。
市净率
=总市值/净资产。市净率估值法多用于盈利波动较大而净资产相对稳定的公司。
市销率
=总市值/营业收入。市销率估值法通常用于亏损或微利的成长型公司。
文中市盈率和市销率采用TTM方式,即以截至最近一期财报(含预报)12个月的数据计算。市净率采用LF方式,即以最近一期财报数据计算。
市盈率为负时,不显示当期分位数,会导致折线图中断。